EasyManua.ls Logo

Orgapack CR 26 A - Cleaning the Tool; Replacing Jaws and Notcher

Orgapack CR 26 A
Print Icon
To Next Page IconTo Next Page
To Next Page IconTo Next Page
To Previous Page IconTo Previous Page
To Previous Page IconTo Previous Page
Loading...
25
ORGAPACK CR 26 A
01.08/WE
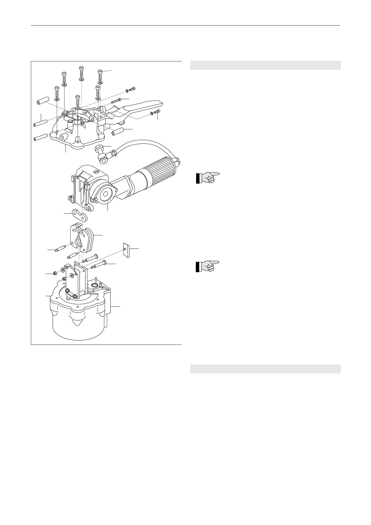
7.4 REPLACING JAW AND NOTCHER
Removal
Disconnect tool from air supply.
Mount the tool on the cylinder (12/9) carefully into a
vice.
Remove hollow screw (12/4) and remove air hose.
Loosen two cylinder screws (12/16) and remove
together with bolts (12/15).
Remove one cylinder screw (12/2) and remove
bushings (12/3).
Slide tension unit with base plate (12/5) carefully up.
Remove cutting knife (12/7).
Remove six cylinder screws (12/1) and remove
housing (12/14).
During removal of the tool, it must be
ensured, that the retaining ring (12/10)
remains on the cylinder (12/9).
Loosen two lock nuts (12/11) and remove bolts
(12/8).
Swivel down the jaws (12/6) and remove bolts
(12/12).
Remove and replace jaws and notcher.
Installation
Install the parts in reverse order.
Mount new lock nuts (12/11). After moun-
ting the nuts, the bolt (12/8) must still be
turning. Secure hollow screw (12/4) with
Loctite 243.
7.5 CLEANING THE TOOL
The tool should be regulary cleaned. Especially the
tension wheel and the jaw unit should be kept clean.
The easiest way to do this, is to use compressed air
and to blow out the dust (wear eye protection).
Fig. 12
1
4
15
3
2
5
7
14
10
8
11
6
12
9
13
16

Table of Contents

Related product manuals