EasyManua.ls Logo

Panasonic BL-C230A - Indicator view Check

Panasonic BL-C230A
75 pages
Print Icon
To Next Page IconTo Next Page
To Next Page IconTo Next Page
To Previous Page IconTo Previous Page
To Previous Page IconTo Previous Page
Loading...
27
BL-C230A
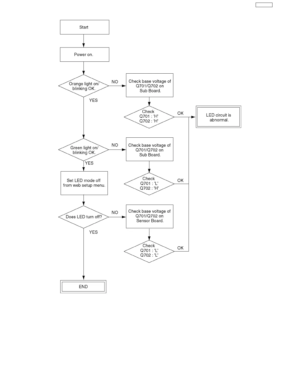
8.2. Indicator view Check

Table of Contents

Other manuals for Panasonic BL-C230A

Related product manuals