EasyManua.ls Logo

Panasonic CS-C12KKF-2 - Patrol Operation

Panasonic CS-C12KKF-2
115 pages
Print Icon
To Next Page IconTo Next Page
To Next Page IconTo Next Page
To Previous Page IconTo Previous Page
To Previous Page IconTo Previous Page
Loading...
61
13.13 Patrol Operation
To monitor air dirtiness level by using Patrol sensor and to maintain air freshness by activates e-ion operation
Patrol operation starts condition
o When the unit operation is started with “OFF/ON” button
o When the unit stops, “Patrol” operation is selected, Patrol individual operation will start.
o During cooling only operation, “Patrol” operation is selected.
Patrol operation stops condition (when any of the following condition is fulfilled):
o When “OFF/ON” button is selected.
o During any operation with Patrol, “PATROL/e-ion” button is pressed.
o When OFF Timer activates.
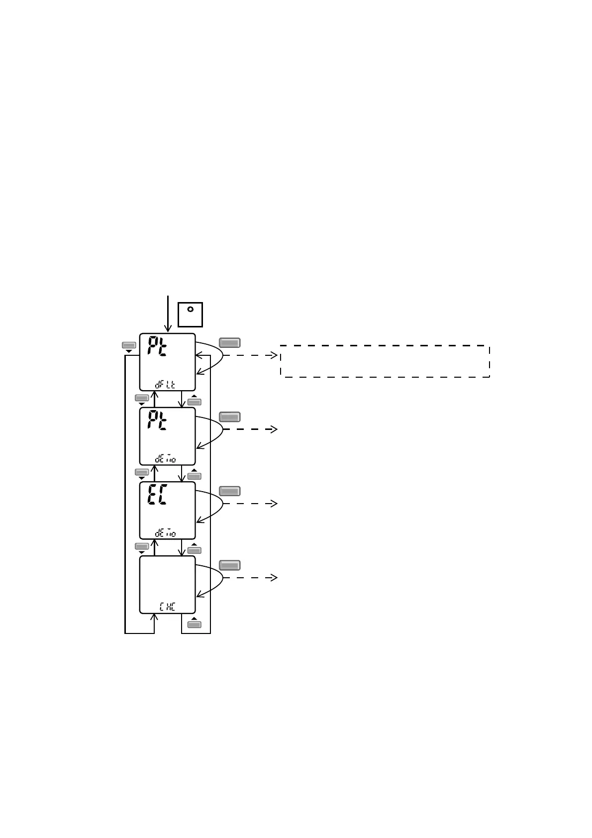
To disable the Patrol Operation during unit starts (default) with “OFF/ON” button
o Press “Set” button continuously for 15 seconds by using pointer during Air Conditioner is OFF condition to
enter internal setting mode.
o Press “Timer Decrement" button to select “Pt dFLt”.
o Press “Timer Set” button to toggle Patrol operation default OFF/ON.
Long "beep": Turn OFF Patrol operation default.
Short "beep": Turn ON Patrol operation default.
SET
SET
Transmit Patrol default OFF/ON code
(Buzzer: OFF:Long Beep, ON:Short Beep)
Press continously for 15s
SET
Transmit Patrol demo code
(Buzzer: OFF:Long Beep, ON:Short Beep)
SET
Transmit ECO demo code
(Buzzer: OFF:Long Beep, ON:Short Beep)
SET
Transmit check code
(Buzzer:Short Beep)

Table of Contents

Related product manuals