EasyManua.ls Logo

Panasonic CS-C12KKF-2 - Block Diagram

Panasonic CS-C12KKF-2
115 pages
Print Icon
To Next Page IconTo Next Page
To Next Page IconTo Next Page
To Previous Page IconTo Previous Page
To Previous Page IconTo Previous Page
Loading...
16
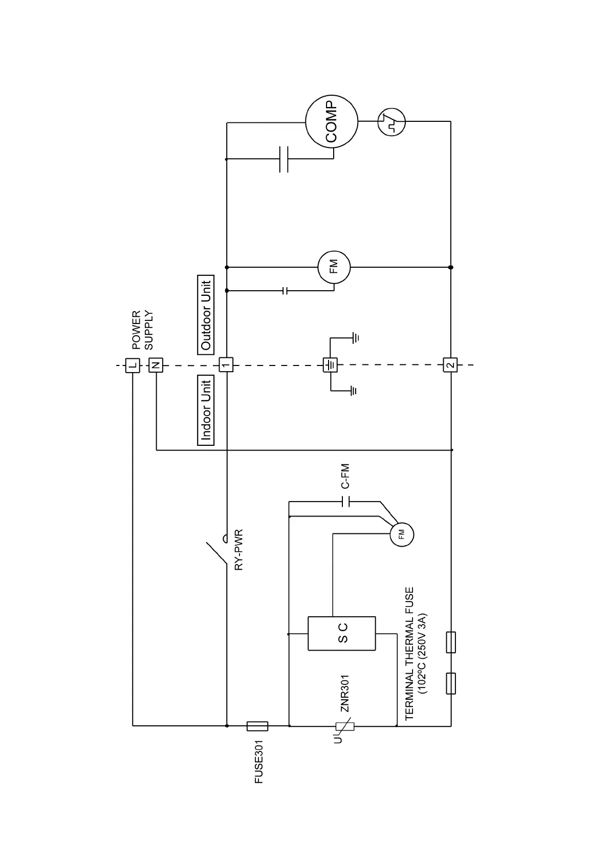
7. Block Diagram
7.1.1 CS-C12KKF-2 CU-C12KKF-2

Table of Contents

Related product manuals