EasyManua.ls Logo

Panasonic DMR-XW380EB

Panasonic DMR-XW380EB
122 pages
To Next Page IconTo Next Page
To Next Page IconTo Next Page
To Previous Page IconTo Previous Page
To Previous Page IconTo Previous Page
Loading...
49
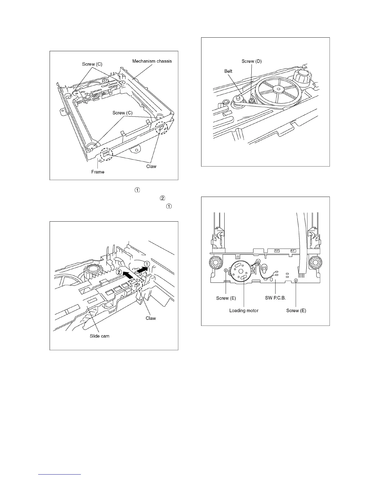
8. The 4 Screws (C) are unscrewed.
The 2 Claws of Mechanism chassis are pushed to the
inside and frame is removed from Mechanism chassis.
9. The Slide cam is slide in the arrow direction fully.
The Claw of Slide cam is slide in the arrow direction
while pushing it. In addition, slide it in the arrow direc-
tion and Slide cam is removed.
10. The Belt and Screw (D) are removed.
11. The 2 Screws (E) are unscrewed and whole SW P.C.B. is
removed. As for how to remove the Loading motor,
please refer to “9.2.6. Loading motor”.

Table of Contents

Related product manuals