EasyManua.ls Logo

Panasonic FPS Series - Page 89

Panasonic FPS Series
332 pages
Print Icon
To Next Page IconTo Next Page
To Next Page IconTo Next Page
To Previous Page IconTo Previous Page
To Previous Page IconTo Previous Page
Loading...
Installation and Wiring
FPΣ User's Manual
72
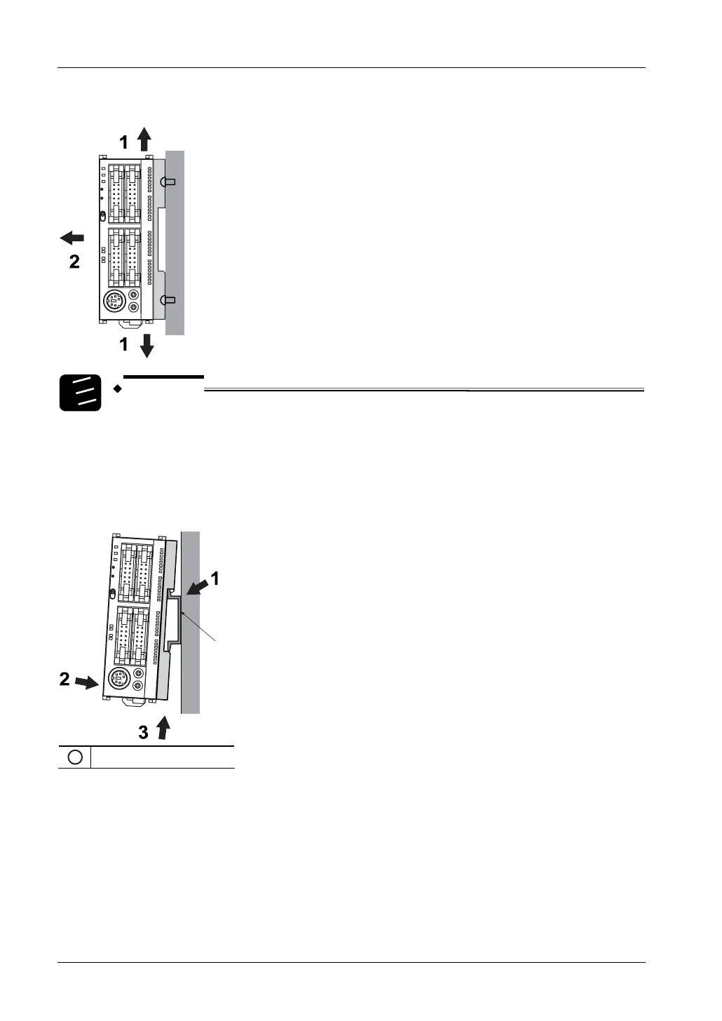
Removal
1.
2.
3.
Procedure
1. Raise expansion hooks on top and bottom of the unit
2. Remove unit from mounting plate
Attachment to DIN rail
A unit with an attached flat type mounting plate can also be installed sideways on a DIN rail.
1
DIN rail

Table of Contents

Related product manuals