EasyManua.ls Logo

Panasonic KX-FL612CX - Upper Main Cabinet Section

Panasonic KX-FL612CX
266 pages
To Next Page IconTo Next Page
To Next Page IconTo Next Page
To Previous Page IconTo Previous Page
To Previous Page IconTo Previous Page
Loading...
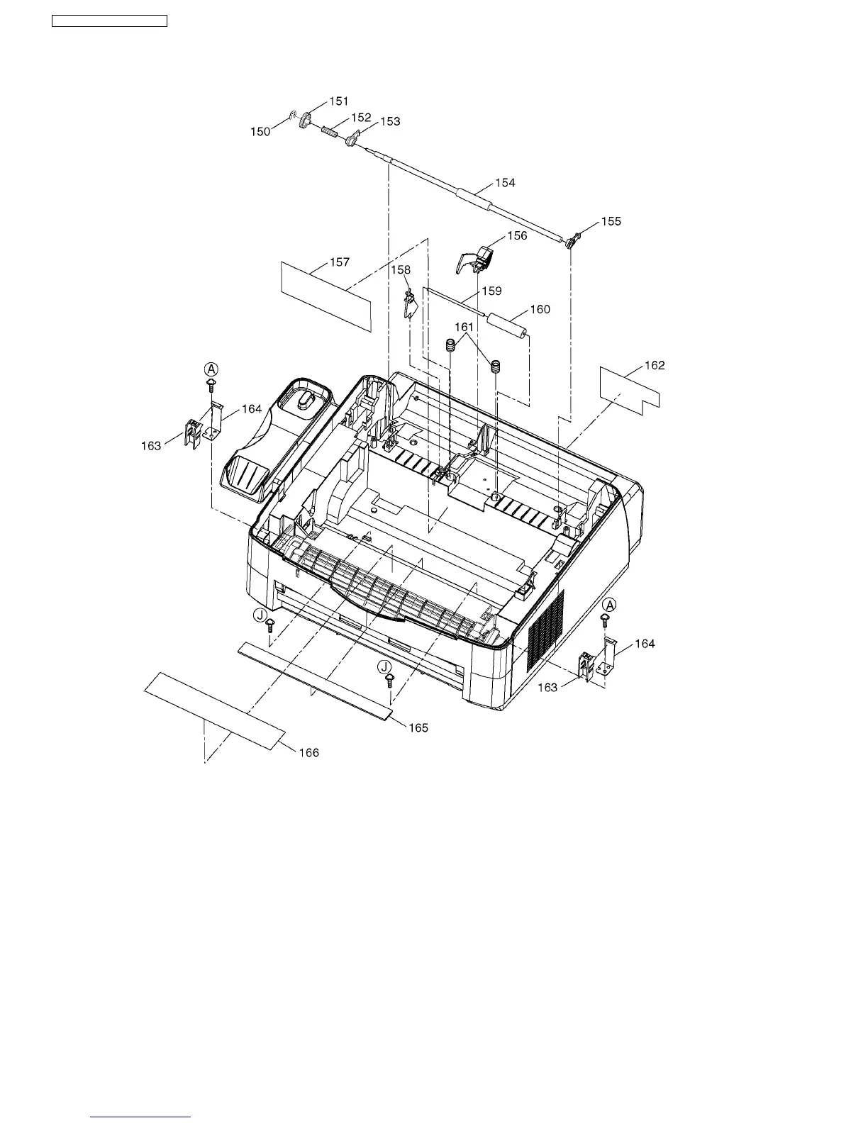
10.7. UPPER MAIN CABINET SECTION
226
KX-FL612CX / KX-FL612CX-S

Table of Contents

Related product manuals