EasyManua.ls Logo

Panasonic KX-FL612CX - 11 Accessories and Packing Materials

Panasonic KX-FL612CX
266 pages
To Next Page IconTo Next Page
To Next Page IconTo Next Page
To Previous Page IconTo Previous Page
To Previous Page IconTo Previous Page
Loading...
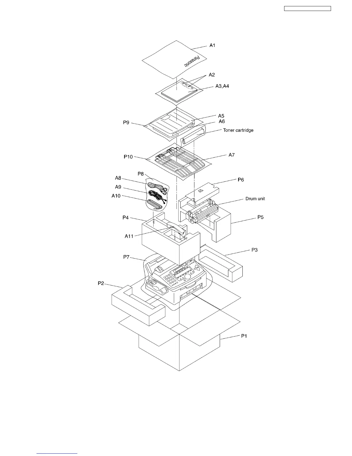
11 ACCESSORIES AND PACKING MATERIALS
231
KX-FL612CX / KX-FL612CX-S

Table of Contents

Related product manuals