EasyManua.ls Logo

Panasonic KX-TDA50

Panasonic KX-TDA50
214 pages
To Next Page IconTo Next Page
To Next Page IconTo Next Page
To Previous Page IconTo Previous Page
To Previous Page IconTo Previous Page
Loading...
1.3.22 EFA (External Feature Access)
You can
access special features (e.g., Call Waiting) offered by a host PBX or telephone company. This feature
is only effective for an outside call.
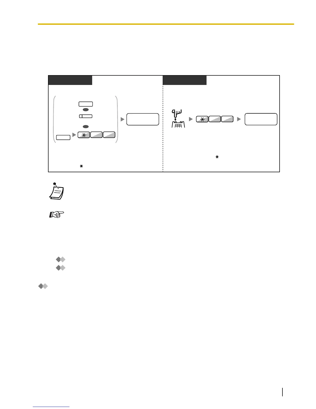
<Example> To hold the current call and then talk to the new party
PT/PS SLT
Enter desired
service code.
desired service
code
Enter desired
service code.
Press Recall/
hookswitch.
Press FLASH/RECALL or EFA.
Or press TRANSFER and
then enter 60.
While hearing a tone While hearing a tone
Enter 60.
OR
OR
(EFA)
FLASH/
RECALL
6 0
TRANSFER
desired service
code
6 0
In this case, the FLASH/RECALL button on a proprietary telephone must be set to External
Feature Access (EFA) mode through system programming.
Customizing Your Phone
3.1.4 Customizing the Buttons
Create or edit an External Feature Access (EFA) button.
1.3.23 Executive Busy Override
Executive Busy Override
Executive Busy Override Deny
Executive Busy Override
A preprogrammed extension can call someone who is busy on the telephone and establish a three-party
conversation.
Document Version 2008-10 Operating Manual 69
1.3.23 Executive Busy Override

Table of Contents

Other manuals for Panasonic KX-TDA50

Related product manuals