EasyManua.ls Logo

Panasonic KX-TG2853BXS

Panasonic KX-TG2853BXS
88 pages
To Next Page IconTo Next Page
To Next Page IconTo Next Page
To Previous Page IconTo Previous Page
To Previous Page IconTo Previous Page
Loading...
12
KX-TG2853BXS/KX-TG2854BXS/KX-TGA280BXS
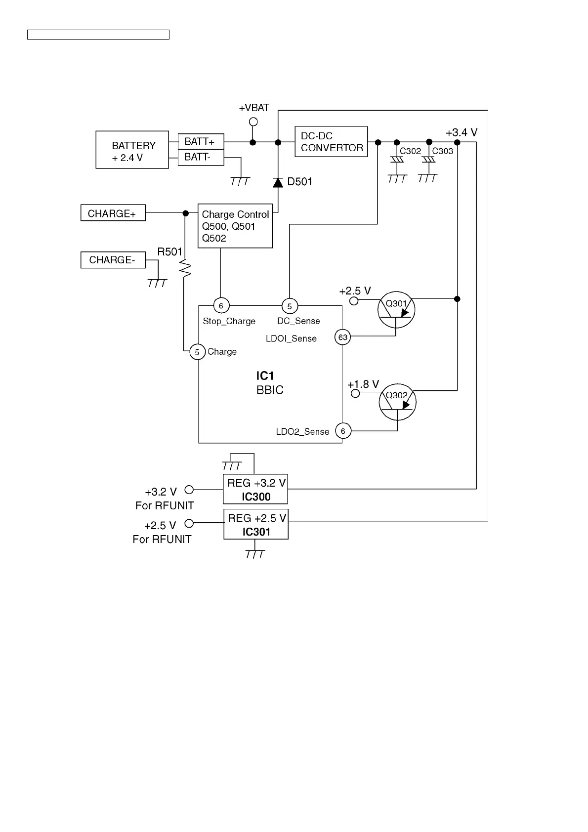
4.4.2. Power Supply Circuit
Circuit Operation:
When power on the handset, the voltage is as follows;
BATTERY (2.2 V ~ 2.6 V: J1) L502 L300, D300 Q300 (3.4 V) Q302 (1.8 V), Q301 (2.5 V)

Table of Contents

Related product manuals