EasyManua.ls Logo

Panasonic S-100PK2E5B - Page 86

Panasonic S-100PK2E5B
259 pages
Print Icon
To Next Page IconTo Next Page
To Next Page IconTo Next Page
To Previous Page IconTo Previous Page
To Previous Page IconTo Previous Page
Loading...
1-10-3
11
Wiring System Diagrams
* Power supply in the nameplate is described below.
R2
R1
U2
U1
L
N
B
A
C
L
N
L
N
U2
U1
N
L
2
1
2
1
D
WHT
BLK
Remote
controller
Power supply
220-230-240V ~ 50Hz
Ground
Ground
ex.) 4-Way Cassette
Indoor unit
(
: Functional earthing)
Outdoor unit (single-phase)
INV unit
Power supply
230-240V ~ 50Hz
NOTE
(1) See the section “ Recommended Wire Length and Wire
Diameter for Power Supply System” for the explanation of “A”, “B”,
“C” and “D” in the above diagrams.
(2) The basic connection diagram of the indoor unit shows the
terminal board, so the terminal boards in your equipment may
differ from the diagram.
(3) Refrigerant Circuit (R.C.) address should be set before turning the
power on.
(4) Regarding R.C. address setting, refer to the installation
instructions supplied with the remote controller unit (Optional).
Auto address setting can be executed by remote controller
automatically. Refer to the installation instructions supplied with
the remote controller unit (optional).
Wiring sample
LN U1 U2
Power supply Inter-unit control wiring
2P terminal board 2P terminal board .
Recommended Wire Length and Wire Diameter for Power Supply System
Control wiring
(C) Inter-unit (between outdoor
and indoor units) control wiring
(D) Remote control wiring
0.75 mm
2
(AWG #18)
Use shielded wiring*
1
0.75 mm
2
(AWG #18)
Use shielded wiring
Max. 1,000 m Max. 500 m
NOTE
*1
With ring-type wire terminal.
Outdoor unit
(A) Power supply Time delay
fuse or circuit
capacity
(A) Power supply Time delay
fuse or circuit
capacity
Wire size Max. length Wire size Max. length
U-60PZ2R5 2.5 mm² 15 m 25 A 4 mm² 25 m 25 A
U-71PZ2R5 2.5 mm² 15 m 25 A 4 mm² 25 m 25 A
Indoor unit
Type
(B) Power supply
Time delay fuse or
circuit capacity
2.5 mm
2
U2, T2, F1, E1 Max. 130 m 10-16 A
NEVERFAILTOTAKE
OFFTHISLABEL
AFTERINSTALLATION.
220-240V
Earth
Use this screw when connecting to
ground for the Inter-unit control wiring
Power supply
Cord clamp A
Cord clamp B
Cord clamp C
Inter-unit control wiring
Power cable
r egno l m m 03 - 52 gn i r iw h t r ae eh t ekaM : gn i r iW h t r aE
than power cable.
Throw away above label
after wiring.
(
: Functional earthing)
01_301769_2WAY_eng.indb 17 2018/3/20 9:14:59
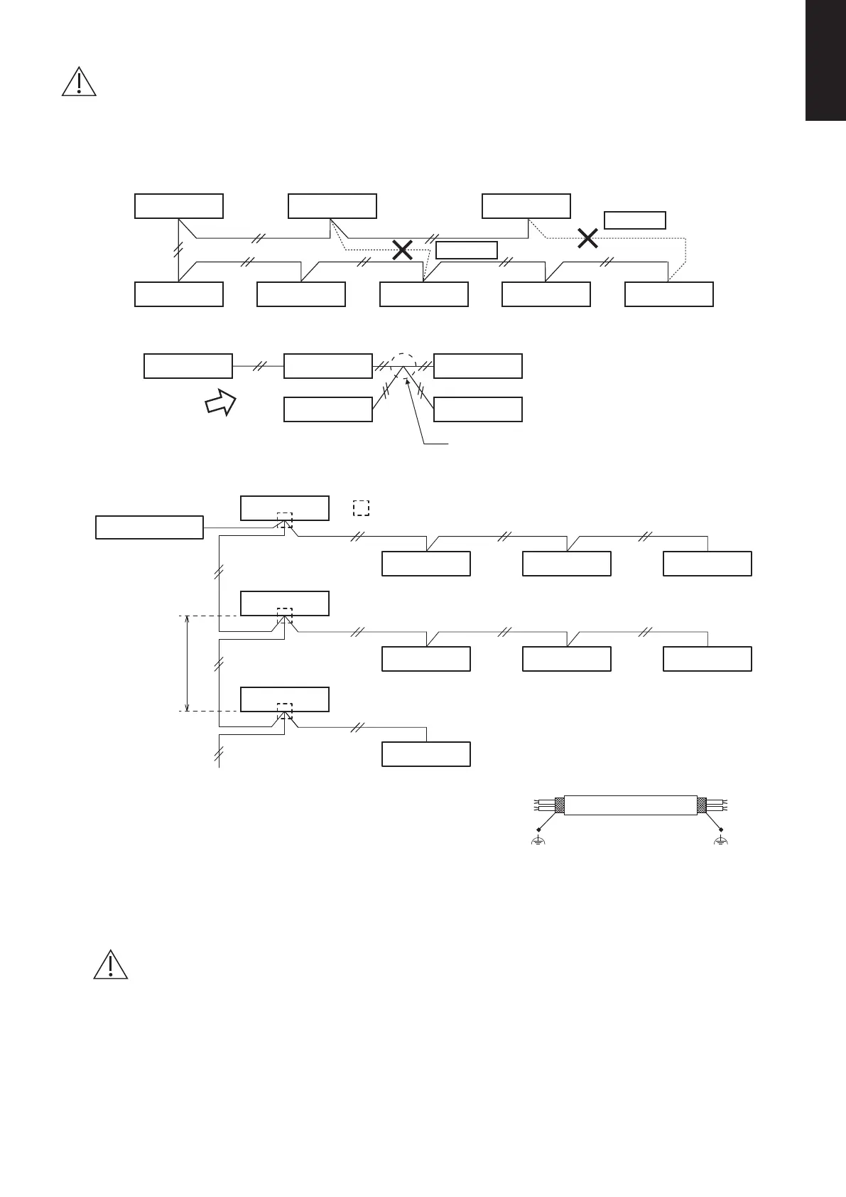
CAUTION
(1) When linking the outdoor units in a network, disconnect the terminal extended from the short plug from all outdoor units
except any one of the outdoor units.
(When shipping: In shorted condition.)
For a system without link (no wiring connection between outdoor units), do not remove the short plug.
(2) Do not install the inter-unit control wiring in a way that forms a loop.
Outdoor unit Outdoor unit Outdoor unit
Indoor unit Indoor unit Indoor unit Indoor unit
Prohibited
Prohibited
Indoor unit
(3) Do not install inter-unit control wiring such as star branch wiring. Star branch wiring causes mis-address setting.
Outdoor unit Indoor unitIndoor unit
Indoor unitIndoor unit
NO
Branch point
(4) If branching the inter-unit control wiring, the number of branch points should be 16 or fewer.
Outdoor unit
Outdoor unit
Outdoor unit
: Branch point
Indoor unit
Indoor unit Indoor unit
Indoor unitIndoor unit
Indoor unit
Indoor unit
More than 2m required
Central Controller
(5) Use shielded wires for inter-unit control wiring (C) and ground
the shield on both sides, otherwise misoperation from noise
may occur. Connect wiring as shown in Section “4-3. Wiring
System Diagrams”.
(6) Use the standard power supply cables for Europe (such as H05RN-F or H07RN-F which conform to CENELEC (HAR)
rating specifications) or use the cables based on IEC standard. (60245 IEC57, 60245 IEC66)
Connecting cable between indoor unit and outdoor unit shall be approved polychloroprene sheathed 5 or 3 *1.5 mm
2
flexible cord. Type designation 60245 IEC 57 (H05RN-F, GP85PCP etc.) or heavier cord.
WARNING
Loose wiring may cause the terminal to overheat or result in unit malfunction. A fire hazard may also occur.
Therefore, ensure that all wiring is tightly connected.
When connecting each power wire to the terminal, follow the instructions on “How to connect wiring to the terminal” and fasten the
wire securely with the terminal screw.
Shielded wire
(Functional earthing) (Functional earthing)
01_301769_2WAY_eng.indb 18 2018/3/20 9:14:59
SM830266-00_大洋州向けR32シングルTD&SM.indb 3 18/03/29 10:19:50

Table of Contents

Other manuals for Panasonic S-100PK2E5B

Related product manuals