EasyManua.ls Logo

Panasonic SA-AK22 - Page 22

Panasonic SA-AK22
130 pages
Print Icon
To Next Page IconTo Next Page
To Next Page IconTo Next Page
To Previous Page IconTo Previous Page
To Previous Page IconTo Previous Page
Loading...
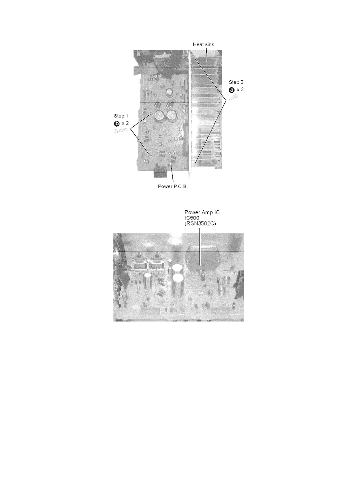
Step 2 Remove the wires at CN302, CN303 and CN304 and pull out the Main P.C.B.
Step 3 Remove 4 screws fixed to the Power Amplifier IC.
Step 4 Unsolder the terminals of Power Amp IC and replace the respective component.
22
www.freeservicemanuals.info
12/10/2014
Digitized in Heiloo, Holland

Table of Contents

Other manuals for Panasonic SA-AK22

Related product manuals