EasyManua.ls Logo

Panasonic TH-55VF2W - Page 26

Panasonic TH-55VF2W
122 pages
Print Icon
To Next Page IconTo Next Page
To Next Page IconTo Next Page
To Previous Page IconTo Previous Page
To Previous Page IconTo Previous Page
Loading...
English
26
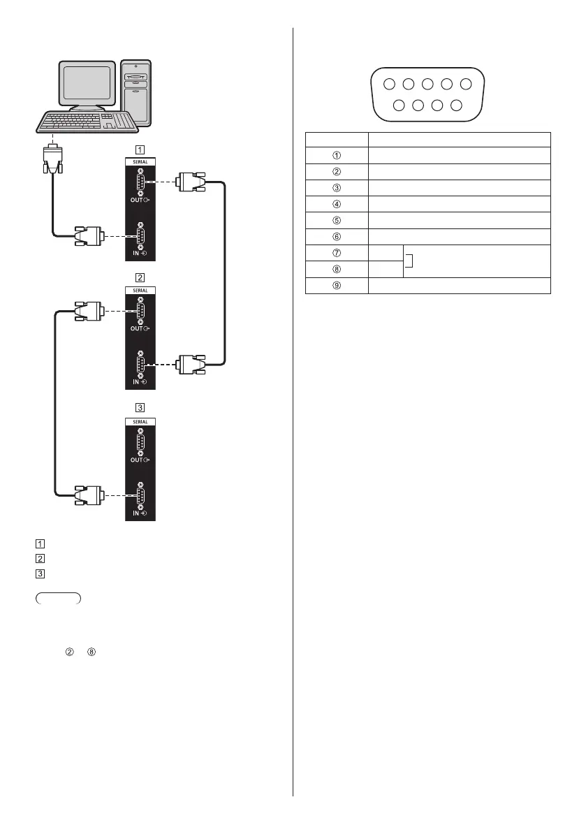
It is possible to daisy chain multiple displays, and
then control the specific display with PC.
First display
Second display
Third display
Note
●
When daisy chaining, set [Serial daisy chain position].
(see page 54)
●
When daisy chaining, use a straight cable which pin
No.
to are hard wired.
Pin assignments and signal names for SERIAL
Terminal
6 7 8 9
1 3 4 52
Pin No. Signal Name
NC (not connected)
RXD
TXD
Non use
GND (Ground)
Non use
RTS
Shorted in this set
CTS
NC (not connected)
These signal names are those of computer
specifications.
Communication parameters
Signal level: RS-232C compliant
Synchronization method: Asynchronous
Baud rate: 9600 bps
Parity: None
Character length: 8 bits
Stop bit: 1 bit
Flow control: None

Table of Contents

Related product manuals