EasyManua.ls Logo

Pinion Smart.Shift - Grondbeginselen

Pinion Smart.Shift
Print Icon
To Next Page IconTo Next Page
To Next Page IconTo Next Page
To Previous Page IconTo Previous Page
To Previous Page IconTo Previous Page
Loading...
103
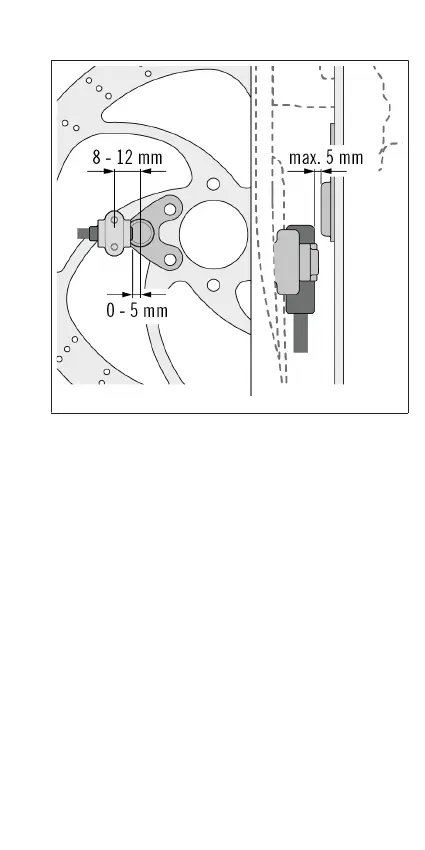
Positionering Speedsensor
Zijaanzicht Bovenaanzicht
Afb.7
GRONDBEGINSELEN
SMART.SHIFT-SYSTEEM INRIJDEN
Tijdens de eerste 1000 km verbetert de vetverdeling, de
oppervlakken van de tandwielen worden glad. Daardoor
verbetert het schakelgedrag en de schakelgeluiden nemen in
verloop van tijd iets af.
Als je met een Pinion-versnellingssysteem rijdt, zal je
constateren:
het schakelen is afhankelijk van de belasting.
Er kunnen meerdere versnellingen snel achter elkaar
worden geschakeld.
Het is mogelijk om in stilstand en tijdens het trappen te
schakelen.

Table of Contents

Related product manuals