EasyManua.ls Logo

Pinion Smart.Shift - Grundlagen

Pinion Smart.Shift
Print Icon
To Next Page IconTo Next Page
To Next Page IconTo Next Page
To Previous Page IconTo Previous Page
To Previous Page IconTo Previous Page
Loading...
13
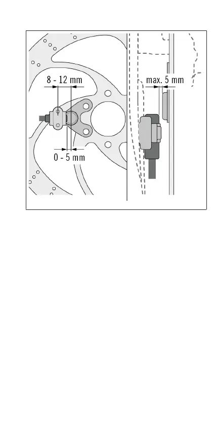
Positionierung Speedsensor
Seitenansicht Draufsicht
Abb.7
GRUNDLAGEN
SMART.SHIFT-SYSTEM EINFAHREN
Innerhalb der ersten 1000km verbessert sich die
Fettverteilung, die Oberflächen der Zahnräder glätten sich.
Somit verbessert sich das Schaltverhalten und die
Schaltgeräusche nehmen mit der Zeit leicht ab.
Wenn du ein Pinion-Getriebe fährst, wirst du feststellen:
Das Schalten ist lastabhängig.
Es lassen sich mehrere Gänge schnell hintereinander
schalten.
Es ist möglich, im Stand und während der Tretbewegung
zu schalten.

Table of Contents

Related product manuals