EasyManua.ls Logo

Pinion Smart.Shift - Basics

Pinion Smart.Shift
Print Icon
To Next Page IconTo Next Page
To Next Page IconTo Next Page
To Previous Page IconTo Previous Page
To Previous Page IconTo Previous Page
Loading...
35
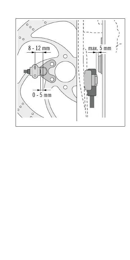
Speed sensor positioning
Side view Top view
Fig.7
BASICS
RUNNING IN SMART.SHIFT SYSTEM
Within the first 1000 km the grease distribution improves and
the surfaces of the gears smooth out. This improves the
shifting behaviour and shifting noise decreases slightly over
time.
If you ride with a Pinion gearbox, you will notice:
Shifting is load-dependent.
Several gears can be shifted in quick succession.
It is possible to shift gears while stationary and while
pedalling.

Table of Contents

Related product manuals