EasyManua.ls Logo

Pioneer VSA-E07 - Remote Control Unit (AXD7217;CU-VSA032); Remote Control Exploded Views and Parts List

Pioneer VSA-E07
25 pages
Print Icon
To Next Page IconTo Next Page
To Next Page IconTo Next Page
To Previous Page IconTo Previous Page
To Previous Page IconTo Previous Page
Loading...
VSA-E07
20
13
1
17
16
15
18
19
18
19
32
31
29
5
6
2
8
9
12
29
39
25
27
29
29
29
23
22
22
20
35
21
24
29
30
26
38
37
36
11
10
33
7
34
14
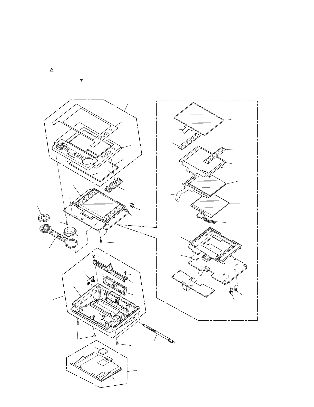
4. REMOTE CONTROL UNIT [AXD7217(CU-VSA032)]
4.1 EXPLODED VIEWS AND PARTS LIST
NOTES:
Parts marked by "NSP" are generally unavailable because they are not in our Master Spare Parts List.
The mark found on some component parts indicates the importance of the safety factor of the part.
Therefore, when replacing, be sure to use parts of identical designation.
Screws adjacent to mark on the product are used for disassembly.

Other manuals for Pioneer VSA-E07

Related product manuals