EasyManua.ls Logo

Praxair PHOENIX 401 BASIC PULS forceArc - Non-Latched Mode; Special, Non-Latched

Praxair PHOENIX 401 BASIC PULS forceArc
60 pages
Print Icon
To Next Page IconTo Next Page
To Next Page IconTo Next Page
To Previous Page IconTo Previous Page
To Previous Page IconTo Previous Page
Loading...
Functional characteristics
TIG welding
Item No.: 099-004838-PRA01 45
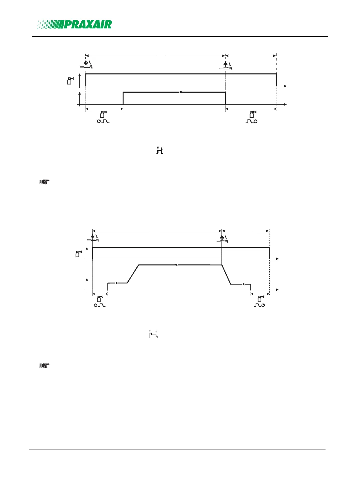
5.3.2.2 Non-latched mode
I
t
t
1. 2.
P
A
Figure 5-17
Selection
Select non-latched operating mode
.
Step 1
Press and hold torch trigger.
Shielding gas is expelled (gas pre-flows).
The arc is ignited using liftarc.
Welding current flows with pre-selected setting.
Step 2
Release torch trigger.
Arc is extinguished.
Gas post-flow time elapses.
5.3.2.3 Special, non-latched
t
t
I
1. 2.
P
A
P
END
P
START
Figure 5-18
Selection
Select non-latched special mode
.
Step 1
Press and hold torch trigger
Shielding gas is expelled (gas pre-flows)
The arc is ignited using liftarc.
Welding gas flows with pre-selected setting in start program “P
START
”.
After the “tstart” ignition current time elapses, the welding current rises with the set upslope time “tS1”
to the main program “P
A
”.
Step 2
Release torch trigger.
The welding current reduces with the downslope time “tSe” to the end program “P
END
”.
After the end current time “end” elapses, the arc will extinguish.
Gas post-flow time elapses.

Table of Contents

Related product manuals