EasyManua.ls Logo

Primer DS-17 - Page 137

Default Icon
Print Icon
To Next Page IconTo Next Page
To Next Page IconTo Next Page
To Previous Page IconTo Previous Page
To Previous Page IconTo Previous Page
Loading...
135
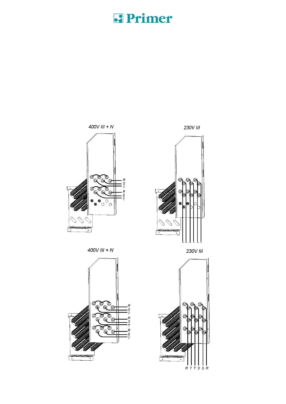
Les graphiques suivants décrivent les changements à réaliser dans les branchements électriques
de la machine lors d'une modification de la tension d'alimentation.
Uniquement entre 400V III +N et 230V III.
MODÈLES DS/DL-11 et DS/DL-17
Ensemble de résistances (uniquement pour chauffage électrique).
Les figures sont une représentation schématique des branchements, ce n'est pas une image réelle de
ceux-ci.
DS/DL-11
DS/DL-17

Table of Contents

Related product manuals