EasyManua.ls Logo

Primer DS-17 - Page 138

Default Icon
Print Icon
To Next Page IconTo Next Page
To Next Page IconTo Next Page
To Previous Page IconTo Previous Page
To Previous Page IconTo Previous Page
Loading...
136
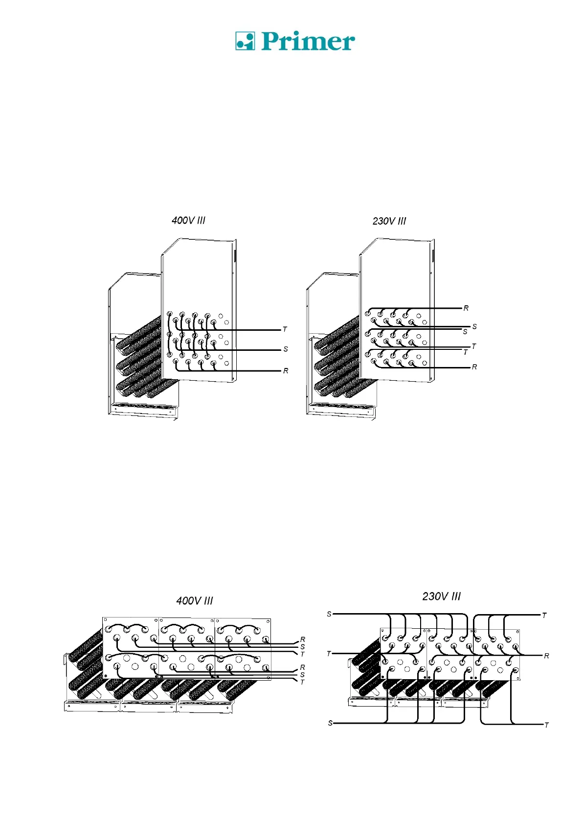
MODÈLE DS/DL-23
ATTENTION
Dans le cas du modèle DS/DL-23 chauffage électrique, la tension NE PEUT PAS passer de
400V à 230V, sans changer le contacteur, l'interrupteur général et la section des câbles.
Pour ce faire, veuillez consulter le Service d'Assistance Technique.
Ensemble de résistances (uniquement pour chauffage électrique)
(Seulement pour passer de 230V à 400V).
Les figures sont une représentation schématique des branchements, ce n'est pas une image réelle de
ceux-ci.
MODÈLE DS/DL-28D/35D
ATTENTION
Dans le cas du modèle DS/DL-28D/35D chauffage électrique, la tension NE PEUT PAS passer
de 400V à 230V, sans changer le contacteur, l'interrupteur général et la section des câbles.
Pour ce faire, veuillez consulter le Service d'Assistance Technique.
Ensemble de résistances (uniquement pour chauffage électrique).
La batterie électrique du modèle DS/DL-28D dispose de 3 modules de résistance:

Table of Contents

Related product manuals