EasyManua.ls Logo

Primer DS-17 - Page 297

Default Icon
Print Icon
To Next Page IconTo Next Page
To Next Page IconTo Next Page
To Previous Page IconTo Previous Page
To Previous Page IconTo Previous Page
Loading...
295
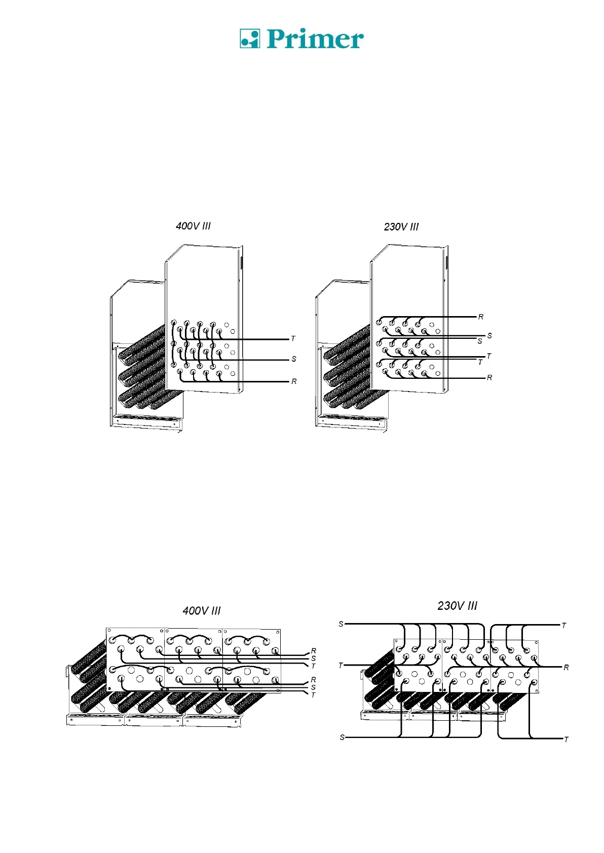
MODELO DS/DL-23
ATENÇÃO
Para o modelo DS/DL-23 Calefação Elétrica NÃO SE PODE realizar a passagem de 400V a
230V sem substituir o contactor, o interruptor geral e a secção dos cabos.
Para isso, consultar o Serviço de Assistência Técnica.
Conjunto de resistências (Só para calefação elétrica)
Unicamente para passar de 230V a 400V).
As figuras são uma imagem esquemática das conexões e não uma visão real das mesmas.
MODELO DS/DL-28D/35D
ATENÇÃO
Para o modelo DS/DL-28D/35D Calefação Elétrica NÃO SE PODE realizar a passagem de 400V
a 230V sem substituir o contactor, o interruptor geral e a secção dos cabos.
Para isso, consultar o Serviço de Assistência Técnica.
Conjunto de resistências (Só para calefação elétrica).
A bateria elétrica da DS/DL-28D é composta por 3 módulos de resistências:

Table of Contents

Related product manuals