EasyManua.ls Logo

Primer DS-17 - Page 86

Default Icon
Print Icon
To Next Page IconTo Next Page
To Next Page IconTo Next Page
To Previous Page IconTo Previous Page
To Previous Page IconTo Previous Page
Loading...
84
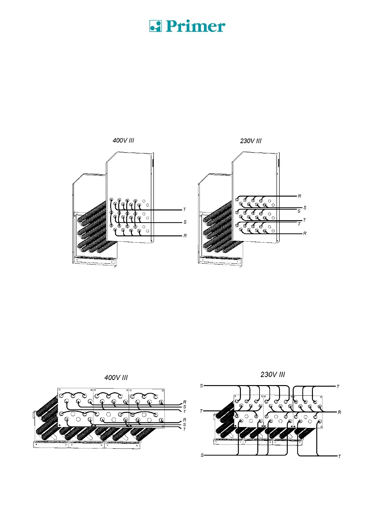
MODEL DS/DL-23
WARNING
For the DS/DL-23 Electric heating model, IT IS NOT POSSIBLE to change from 400 V to 230 V
without changing the contactor, the mains switch and the cable cross-section.
To do so, please refer to the Technical Assistance Service.
Resistor set (only for electric heating).
Only for changing from 230 V to 400 V).
The figures are intended to provide a diagram of the connections and are not a true representation of
the same.
MODEL DS/DL-28D/35D
CAUTION
For the DS/DL-28D/35D Electric heating model, IT IS NOT POSSIBLE to change from 400 V to
230 V without changing the contactor, the mains switch and the cable cross-section.
To do so, please refer to the Technical Assistance Service.
Resistor set (only for electric heating):
The electrical battery of the DS/DL-28D has 3 resistor modules:

Table of Contents

Related product manuals