EasyManua.ls Logo

Quectel EC25-V - Figure 31: Space Factor of Mated Connector (Unit: MM)

Quectel EC25-V
67 pages
Print Icon
To Next Page IconTo Next Page
To Next Page IconTo Next Page
To Previous Page IconTo Previous Page
To Previous Page IconTo Previous Page
Loading...
LTE Module Series
EC25-V User Manual
EC25-V_User_Manual Confidential / Released 52 /
69
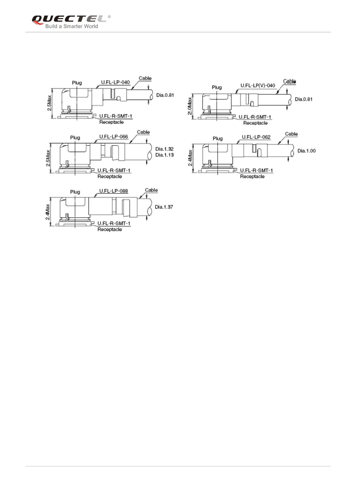
The following figure describes the space factor of mated connector.
Figure 31: Space Factor of Mated Connector (Unit: mm)
For more details, please visit http://www.hirose.com.

Table of Contents

Related product manuals