EasyManua.ls Logo

Rain Bird ISM - Manually Run a Program

Rain Bird ISM
42 pages
Print Icon
To Next Page IconTo Next Page
To Next Page IconTo Next Page
To Previous Page IconTo Previous Page
To Previous Page IconTo Previous Page
Loading...
ISM Installation, Programming & Operation Guide
Page 31
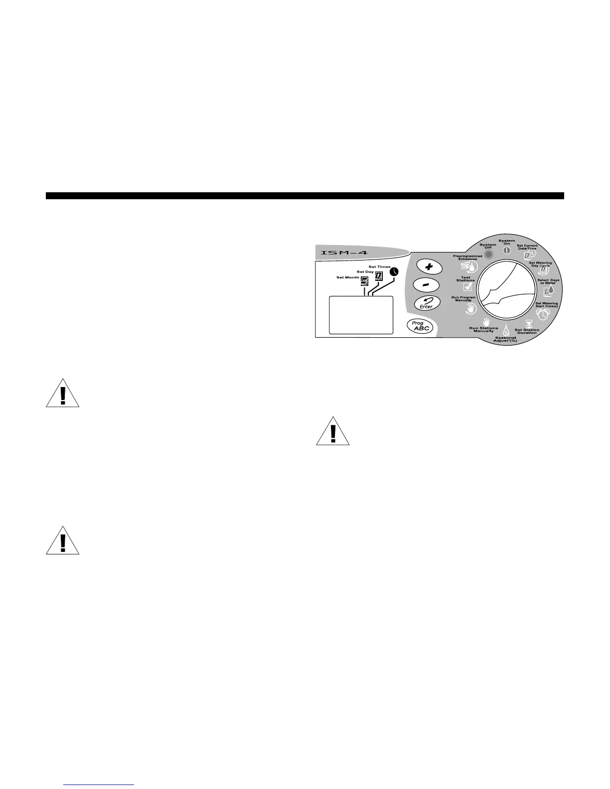
Manually Run a Program
1. Turn the Programming Dial to RUN
PROGRAM MANUALLY (RPM).
2. The current program “A, B or C” appears
in the display.
3. To choose another program, press the
Prog ABC button until the desired program
letter appears in the display.
4. Press Enter to start the selected program.
NOTES: You can “stack” programs (A,
B and C) to operate manually by
pressing Enter after selecting each
program. Programs will run in order
in which they are entered.
5. Turn the Programming Dial back to
SYSTEM ON. The station currently running
and the time remaining is shown in the
display.
NOTE: “Seasonal Adjust” settings
apply to manually operated
programs.
After the last manual program runs, the timer
returns to SYSTEM ON mode and awaits the
next scheduled program start time.
NOTE: Manually operating a station
does not affect the station’s run
time(s) in the automatic programs (A,
B or C).

Related product manuals