EasyManua.ls Logo

Raytheon ST60 - Stand alone instruments

Raytheon ST60
60 pages
Print Icon
To Next Page IconTo Next Page
To Next Page IconTo Next Page
To Previous Page IconTo Previous Page
To Previous Page IconTo Previous Page
Loading...
Chapter 3: Installation
25
D4311-1
5 A fused,
12 V dc supply
(typically provided
by autopilot)
Red
Screen
Red
Screen
1234
Instruments
5 to 16
17
18
19
20
SeaTalk power connections
Stand alone instrumentsStand alone instruments
Stand alone instrumentsStand alone instruments
Stand alone instruments
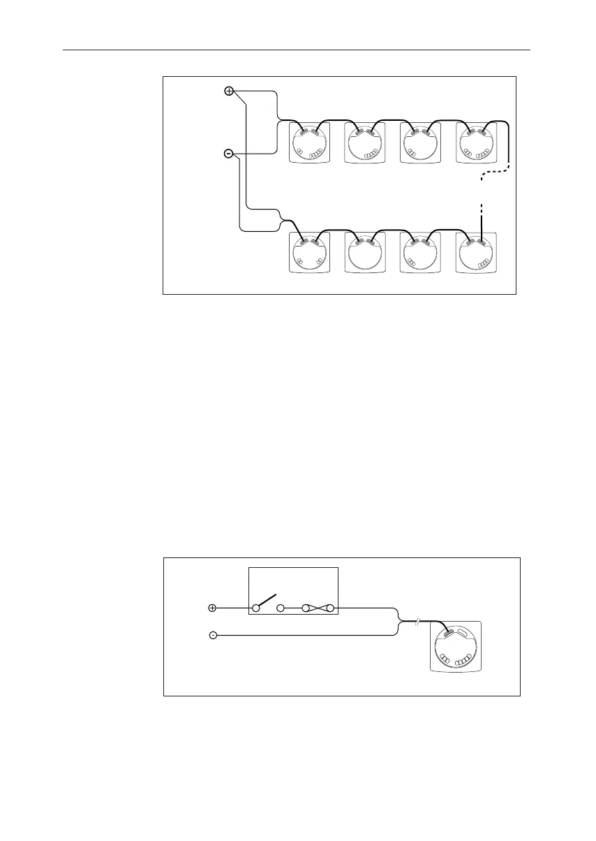
Stand-alone instruments are not connected to SeaTalk and therefore
need to be connected to an alternative 12 V power source. Power
cables are available in 2 m and 9 m lengths.
To fit a power cable:
1. Run the cable from the instrument to a suitable 12 V dc power
source.
2. If the cable has not already been trimmed at the power supply end:
a. Cut the cable to length and trim back an appropriate amount
of the outer sheath.
b. Cut back and insulate the yellow wire.
3. Connect the screen to the power supply 0 V terminal.
Power connections for stand-alone instrument
12 V dc
supply
3 A over-current
circuit breaker
Red
Screen
D4310-1
4. Connect the red wire via a 3 A over-current circuit breaker to the
power supply +12 V terminal.
040_2c03.p65 09/08/99, 09:3225

Table of Contents

Other manuals for Raytheon ST60

Related product manuals