EasyManua.ls Logo

Realistic PRO-2004 - Page 13

Realistic PRO-2004
74 pages
Print Icon
To Next Page IconTo Next Page
To Next Page IconTo Next Page
To Previous Page IconTo Previous Page
To Previous Page IconTo Previous Page
Loading...
Control
Setting
Test Instrument
Adjust
Remarks
Step
.
Chanel Programming Connection
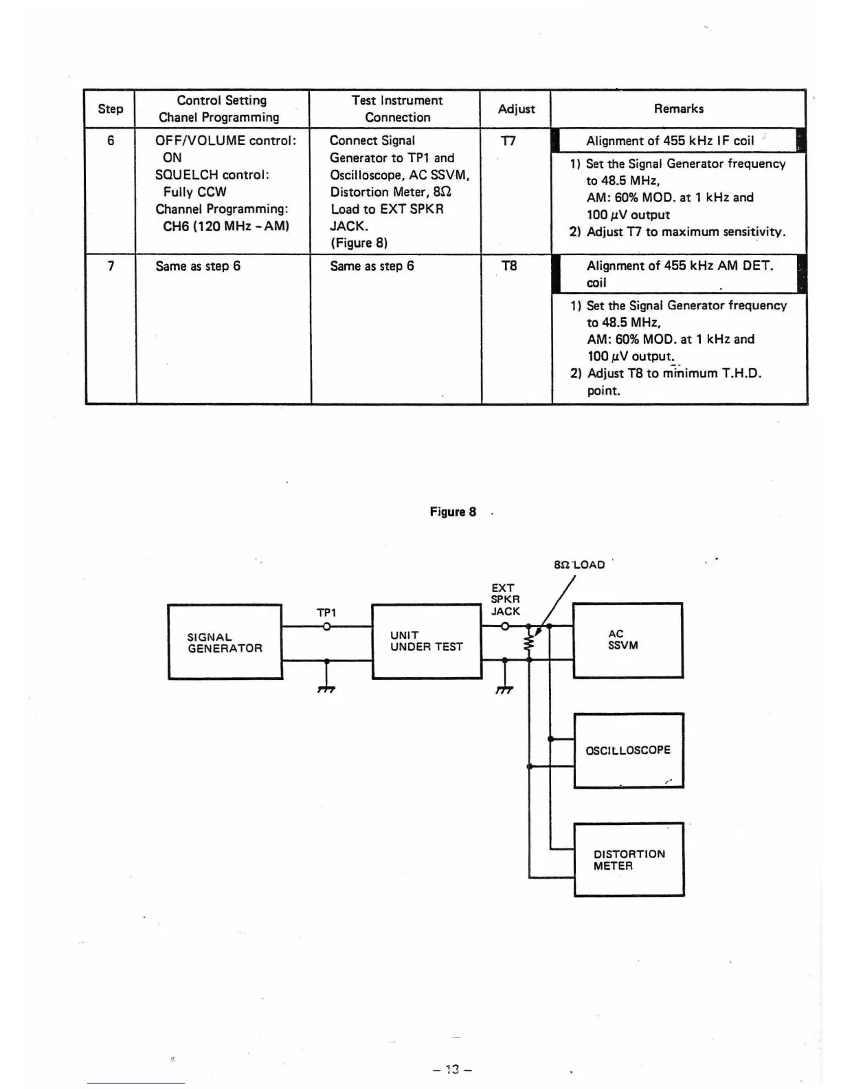
6
OFF/vOLUME
control:
Connect Signal
T7
Alignment
of
455
kHz
IF coil
ON Generator
to
TPl
and
1) Set the Signal Generator frequency
SQUELCH
control:
Oscilloscope.
AC
SSVM.
to
48.5 MHz.
Fully
CCW
Distortion
Meter,
8n
AM:
60%
MOD.
at
1
kHz
and
Channel Programming:
Load
to
EXT
SPK R
100
p.V
output
CH6
(120
MHz
-AM)
JACK.
2)
Adjust T7
to
maximum
sensitivity.
(Figure 8)
.
7
Same
as
step 6
Same
as
step 6
T8
Alignment
of
455
kHz
AM
DET.
coil
1)
Set
the Signal Generator frequency
to
48.5 MHz,
AM:
60%
MOD.
at
1
kHz
and
100
p.V
output.
-.
2) Adjust
T8
to
minimum
T.H.D.
point
.
Figure 8 '
an
'LOAD
EXT
SPKR
TP1
JACK
SIGNAL
UNIT
AC
UNDER
TEST
SSVM
GENERATOR
/II
OSCILLOSCOPE
"
,
DISTORTION
METER
,
_ 1'"l _
.
~

Other manuals for Realistic PRO-2004

Related product manuals