EasyManua.ls Logo

Realistic PRO-2004 - Page 14

Realistic PRO-2004
74 pages
Print Icon
To Next Page IconTo Next Page
To Next Page IconTo Next Page
To Previous Page IconTo Previous Page
To Previous Page IconTo Previous Page
Loading...
Step
Control
Setting Test Instrument
Adjust Remarks
. Channel Programming
Connection
8
OFF/VOLUME
control:
Connect Signal
T2
Alignment
of
48.5 MHz and
ON
..
Generator
to
ANT,
T3
10.7 MHz WFM
IF
coils
SQUELCH
control:
connector
and T4
1)
Set the Signal Generator frequency
Fully
CCW
Oscilloscope, AC SSVM, T5
to 98 MHz
Channel Programming:
au
LOAD
to
EXT
FM: 22.5
kHz
DEV.
at 1
kHz
MOD,
CH5
(9a
MHz
- WFM)
SPKR
JACK.
output
approx. 2
JJ.V.
(Figure
9)
2) Adjust
T2,
T3
to
maximum
sensitivity.
NOTE:
Alignment
of
T4,
T5
are
not
necessary.
.
When
those core
are
turned, adjust
cores
so
that
those tops
of
cores
become
as
high
as
those coil
case.
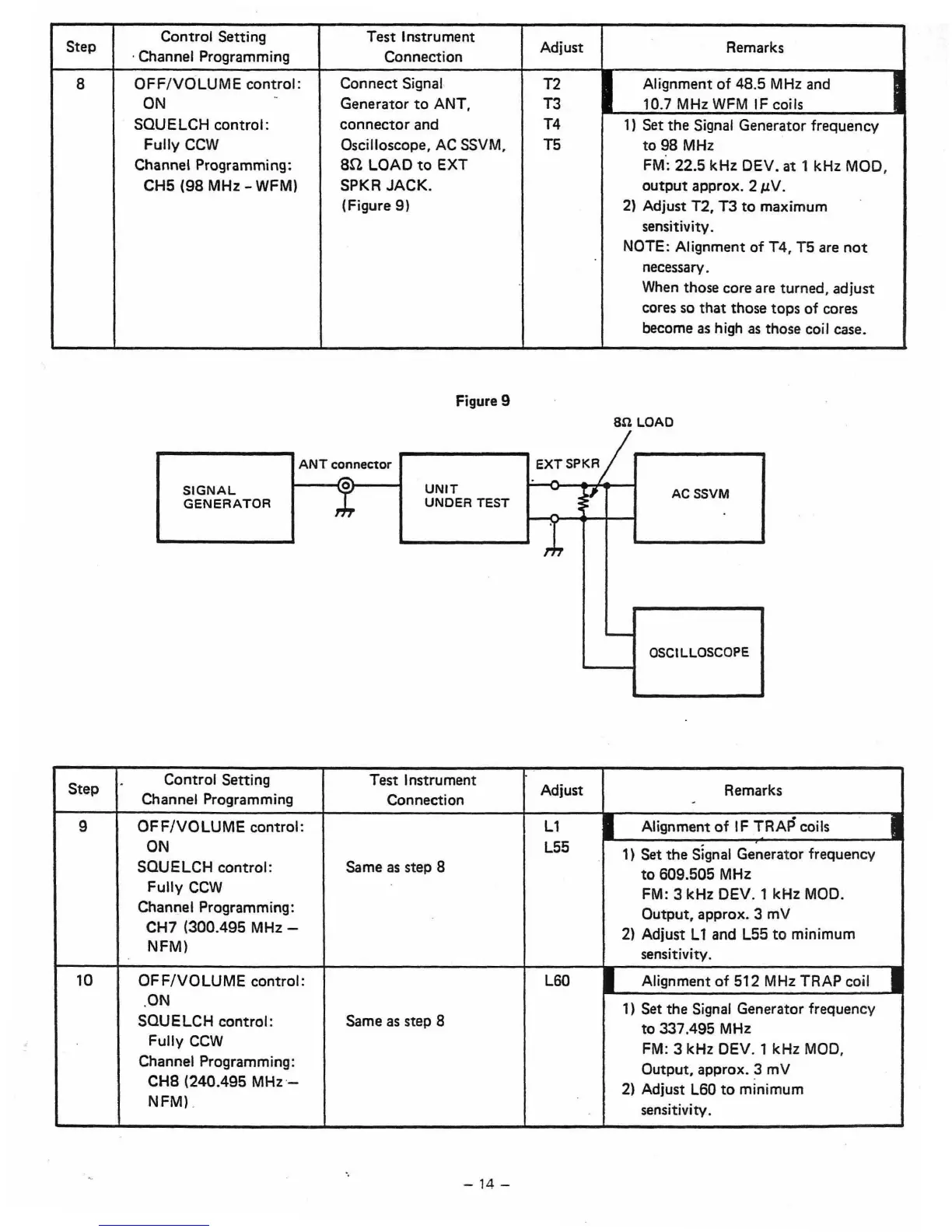
SIGNAL
GENERATOR
ANT
connector
o
II'
Figure 9
UNIT
UNDER
TEST
EXT
SPKA
",
sn
LOAD
ACSSVM
OSCILLOSCOPE
Step
Control
Setting
Test Instrument
Adjust
Remarks
Channel Programming
Connection
9
OFF/VOLUME
control:
L1
Alignment
of
IF
TRAP
coils
ON
L55
1) Set
the
Signal Generator frequency
SQUELCH
control:
Same
as
step a
to
609.505
MHz
Fully
CCW
FM: 3
kHz
DEV.
1
kHz
MOD.
Channel Programming:
Output,
approx. 3
mV
CH7
(300.495 MHz -
2) Adjust L1 and L55
to
minimum
NFM)
sensitivity.
.
10
OFF/vOLUME
control:
L60 Alignment
of
512 MHz
TRAP
coil
.ON
1)
Set the Signal Generator frequency
SQUELCH
control:
Same
as
step 8
to
337.495
MHz
Fully
CCW
FM: 3 kHz DEV. 1
kHz
MOD,
Channel Programming:
Output,
approx. 3
mV
CHa
(240.495
MHz-
2) Adjust L60
to
minimum
NFM)
sensitivity.
-
14-

Other manuals for Realistic PRO-2004

Related product manuals