EasyManua.ls Logo

Realistic PRO-2004 - Alignment Procedures; Alignment and Test Points

Realistic PRO-2004
74 pages
Print Icon
To Next Page IconTo Next Page
To Next Page IconTo Next Page
To Previous Page IconTo Previous Page
To Previous Page IconTo Previous Page
Loading...
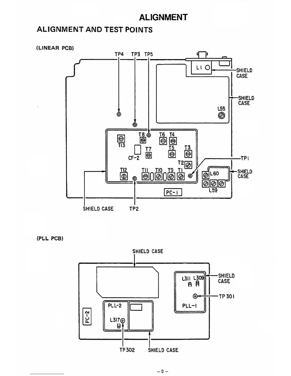
ALIGNMENT
ALIGNMENT
AND TEST POINTS
(LINEAR
PCB)
TP4
TP3
TP5
L I
O.....---SHIELO
CASE
'--SHIELO
CASE
155
(@)
SHIELD
CASE
[@]
1
0
il~
113
T7
T3
CF-2
~
@
~
T2~
TI2
Til
TIO
9
TI
~
~O~00~
0
IPC-I I
SHIELD
CASE
TP2
(PLL
PCB)
SHIELD
CASE
L311
L
A
~
t-:-SHIELD
CASE
@o-rr-i-TP301
'"
I
U
Q.
PLL-2
PLL-I
TP302
SHIELD
CASE
-9-

Other manuals for Realistic PRO-2004

Related product manuals