EasyManua.ls Logo

RIB K2007 - Entretien

RIB K2007
Print Icon
To Next Page IconTo Next Page
To Next Page IconTo Next Page
To Previous Page IconTo Previous Page
To Previous Page IconTo Previous Page
Loading...
17
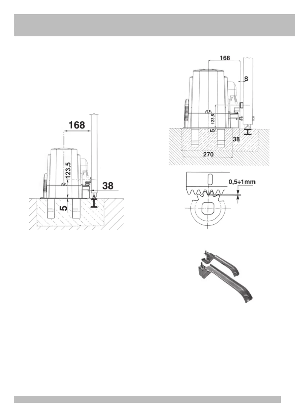
FIXATION MOTEUR ET CRÉMAILLÈRE
La crémaillère doit être fixée à une certaine hauteur par rapport au support du moteur.
Cette hauteur peut être modifiée, grâce aux boutonnières présentes sur la crémaillère.
Le réglage en hauteur est effectué afin que, lors du mouvement, le portail ne puisse
appuyer sur l’engrenage de traction du K (5 et 6). Pour fixer la crémaillère sur le portail,
il suffit de faire des trous de Ø 5 mm et de les tarauder en se servant d’un taraud du
type M6.
L’engrenage d’entraînement doit disposer d’environ 1 mm de rayon d’action par rapport
à la crémaillère.
FIXATION FIN DE COURSE
Pour déterminer la course de la partie mobile, il faut positionner deux cames
sur les extrémités de la crémaillère (7).
Pour procéder au réglage de la course d’ouverture et de fermeture, il suffit de déplacer les
cames sur les crans de la crémaillère. Pour bloquer les cames sur la crémaillère, visser
à fond les vis, fournies avec l’équipement.
N.B: En plus des cames d’arrêt électrique susmentionnées, il est indispensable d’installer
des arrêts mécaniques solides, qui empêcheront le portail de sortir des glissières
supérieures.
ENTRETIEN
Toutes les opérations d’entretien devront être effectuées exclusivement par du
personnel spécialisé et après avoir mis le moteur hors-tension.
Nettoyer périodiquement la glissière en enlevant tous les cailloux ou toute autre saleté
qui pourraient s’y trouver. Cette opération doit être effectuée lorsque le portail est arrêté.
7
5
6
Mesures en mm
Mesures en mm
F

Related product manuals