EasyManua.ls Logo

Riello RG3F - Español; 1 Descripción del Quemador; Forma de Suministro

Riello RG3F
Print Icon
To Next Page IconTo Next Page
To Next Page IconTo Next Page
To Previous Page IconTo Previous Page
To Previous Page IconTo Previous Page
Loading...
2862
1
E
ÍNDICE
1. DESCRIPCIÓN DEL QUEMADOR
Quemador de gasóleo de una sola llama.
1.1 FORMA DE SUMINISTRO
Brida con junta aislante . . . . . . . . . . . . 1 Tornillos y tuercas para brida fijación al generador . . N° 4
Tornillo y tuerca para brida . . . . . . . . . 1 Tubos flexibles con racords . . . . . . . . . . . . . . . . . . . N° 2
Conector macho de 7 contactos. . . . . . N° 1
1. DESCRIPCIÓN DEL QUEMADOR. . . . . 1
1.1 Forma de suministro . . . . . . . . . . . . . . . 1
2. DATOS TÉCNICOS . . . . . . . . . . . . . . . . 2
2.1 Datos técnicos . . . . . . . . . . . . . . . . . . . . 2
2.2 Accesorios . . . . . . . . . . . . . . . . . . . . . . . 2
2.3 Dimensiones . . . . . . . . . . . . . . . . . . . . . 3
2.4 Campo de trabajo . . . . . . . . . . . . . . . . . 3
3. INSTALACIÓN. . . . . . . . . . . . . . . . . . . . 4
3.1 Fijación al generador de calor . . . . . . . . . 4
3.2 Posición de funcionamento . . . . . . . . . . 4
3.3 Alimentación de combustible . . . . . . . . . 5
3.4 Instalación hidráulica . . . . . . . . . . . . . . . 5
3.5 Conexiones eléctricas . . . . . . . . . . . . . . 7
4. FUNCIONAMENTO. . . . . . . . . . . . . . . . . 8
4.1 Ajuste de la combustión . . . . . . . . . . . . . 8
4.2 Boquillas aconsejadas . . . . . . . . . . . . . . 8
4.3 Regulación de los electrodos . . . . . . . . . 9
4.4 Presión de la bomba . . . . . . . . . . . . . . . . 9
4.5 Regulación cabezal de combustión . . . . . 9
4.6 Regulación del registro del aire. . . . . . . . 9
4.7 Ciclo de puesta en marcha . . . . . . . . . . . 10
5. MANTENIMIENTO . . . . . . . . . . . . . . . . . 10
6. ANOMALÍAS / SOLUCIONES . . . . . . . . 11
Para combinar el generador con generadores de aire caliente en Alemania (WLE según DIN 4794) hay que
sustituir la caja de control por la de tipo Riello 550 SMD (quitar el puente) y el sensor llama por el tipo am-
plificado (ambos intercambiables totalmente). Dicha caja de control, combinada con el “Kit desbloqueo a
distancia” (que hay que pedir por separado), también permite gobernar la función de desbloqueo remoto.
ATTENCIÓN
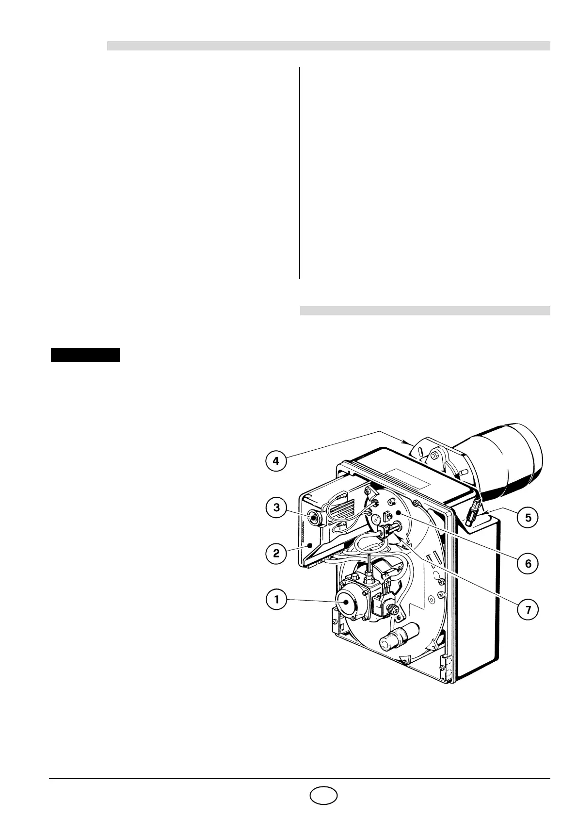
1 Bomba de combustible
2 Caja de control
3 Botón de rearme con
señalización de bloqueo
4 Brida con junta aislante
5 Conjunto regulación registro
del aire
6 Conjunto portaboquilla
7 Fotoresistencia
Fig. 1
S7179

Related product manuals