EasyManua.ls Logo

Riello RG3F - Deutsch; Beschreibung des Brenners; Table of Contents; Mitgeliefertes Zubehör

Riello RG3F
Print Icon
To Next Page IconTo Next Page
To Next Page IconTo Next Page
To Previous Page IconTo Previous Page
To Previous Page IconTo Previous Page
Loading...
2862
1
D
INHALT
1. BESCHREIBUNG DES BRENNERS
Heizölbrenner mit einstufigem Betrieb.
1.1 MITGELIEFERTES ZUBEHÖR
Kesselflansch mit Isolierdichtung . . . . . . . . 1 St. Schraube und Muttern für Brennerflansch . . . . . . 1 St.
Ölschläuche mit Anschlußnippel . . . . . . . . . 2 St. Schrauben und Muttern für Heizkesselflansch. . . . 4 St.
7- poliger Stecker . . . . . . . . . . . . . . . . . . . . 1 St.
1. BESCHREIBUNG DES BRENNERS . . . 1
1.1 Mitgeliefertes Zubehör . . . . . . . . . . . . . . 1
2. TECHNISCHE MERKMALE. . . . . . . . . . 2
2.1 Technische Daten . . . . . . . . . . . . . . . . . 2
2.2 Zubehörteile. . . . . . . . . . . . . . . . . . . . . . 2
2.3 Abmessungen . . . . . . . . . . . . . . . . . . . . 3
2.4 Arbeitsfeld . . . . . . . . . . . . . . . . . . . . . . . 3
3. INSTALLATION. . . . . . . . . . . . . . . . . . . 4
3.1 Einbau vom Heizkessel . . . . . . . . . . . . . 4
3.2 Betriebsposition . . . . . . . . . . . . . . . . . . . 4
3.3 Brennstoffversorgung. . . . . . . . . . . . . . . 5
3.4 Ölversorgungsanlage . . . . . . . . . . . . . . . 5
3.5 Elektrisches Verdrahtungsschema . . . . . 7
4. BETRIEB . . . . . . . . . . . . . . . . . . . . . . . . 8
4.1 Einstellung der Brennerleistung. . . . . . . . 8
4.2 Empfohlene Düsen . . . . . . . . . . . . . . . . . 8
4.3 Elektrodeneinstellung . . . . . . . . . . . . . . . 9
4.4 Pumpendruck . . . . . . . . . . . . . . . . . . . . . 9
4.5 Brennkopfeinstellung. . . . . . . . . . . . . . . . 9
4.6 Luftklappeneinstellung . . . . . . . . . . . . . . 9
4.7 Betriebsablauf. . . . . . . . . . . . . . . . . . . . . 10
5. WARTUNG . . . . . . . . . . . . . . . . . . . . . . . 10
6. STÖRUNGEN / ABHILFE . . . . . . . . . . . . 11
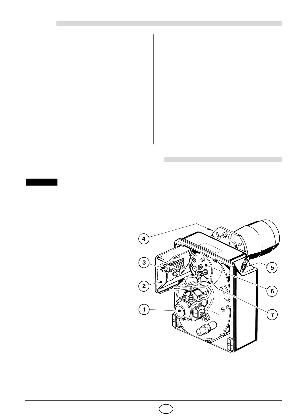
1 Ölpumpe
2 Steuergerät
3 Entstörtaste mit Störanzeige
4 Kesselflansch mit Isolierdichtung
5Luftklappenregulierung
6 Düsenstock
7 Photowiderstand
Abb. 1
S7179
Zur Kombination mit Warmlufterzeugern müssen in Deutschland (WLE gemäß DIN 4794) das Steuergerät
mit dem Typ Riello 550 SMD (die Brücke entfernen) und der Flammenfühler mit dem verstärkten Typ aus-
gewechselt werden (beide voll austauschbar). Mit diesem Steuergerät kann in Kombination mit dem "Kit
Fernentriegelung" (der gesondert bestellt werden muss) auch die Funktion Fernentriegelung gesteuert
werden.
ACHTUNG

Related product manuals