EasyManua.ls Logo

Roca DFK-75 AG - Page 13

Roca DFK-75 AG
Print Icon
To Next Page IconTo Next Page
To Next Page IconTo Next Page
To Previous Page IconTo Previous Page
To Previous Page IconTo Previous Page
Loading...
13
E
Fig. 19
Rutina de test y chequeo
post-instalación
Operación de Test (Fig. 19)
1. Antes de test:
(1) No conecte el equipo hasta que esté
complemente instalado.
(2) La conexión eléctrica ha de ser co-
rrecta y segura.
(3) Las válvulas han de estar abiertas.
(4) El equipo ha de estar libre de impu-
rezas.
2. Método de la operación de test
(1) Conecte el equipo y pulse el botón
ON/OFF del mando a distancia.
(2) Pulse el botón MODE para compro-
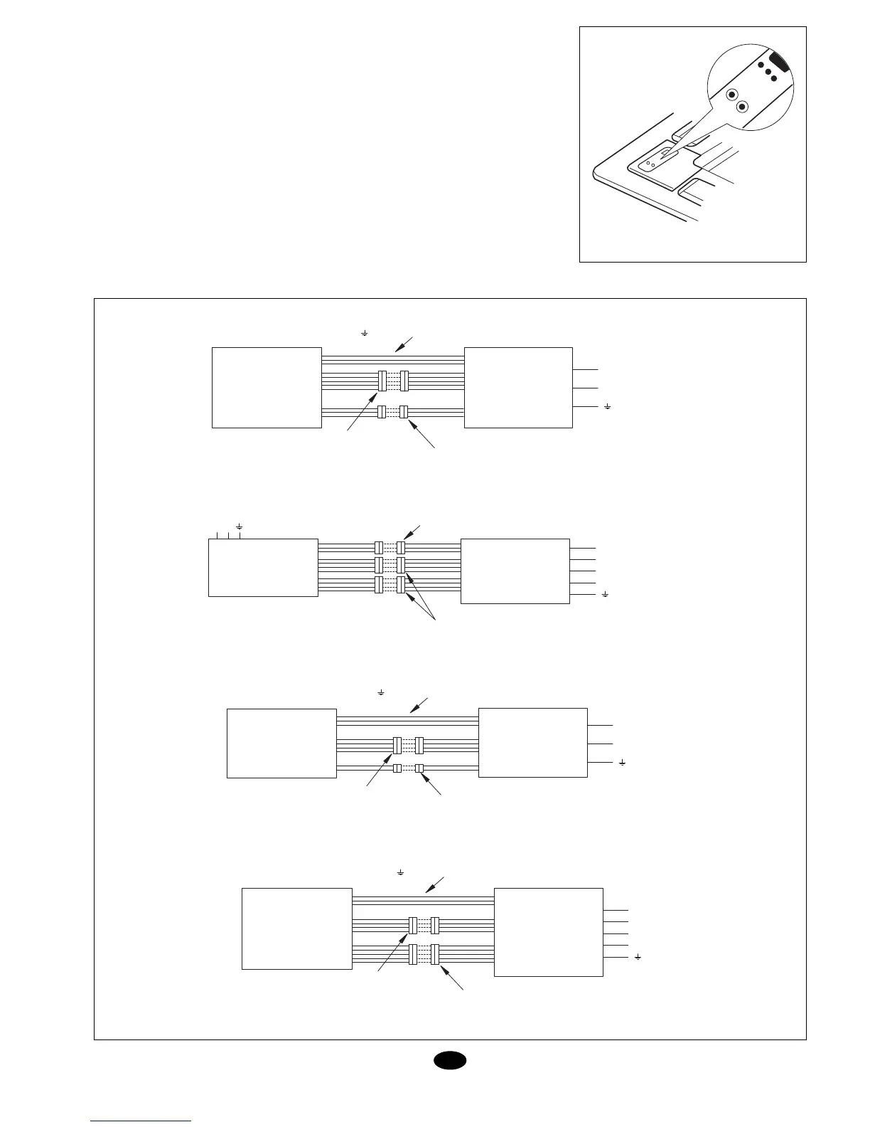
Bomba de calor
Sólo frío
ALIMENTACION ELECTRICA 3 HILOS
(L,N, ) 230V/1Ph/50Hz (SUMINISTRADO)
DBK 75 AG DBO 75 AG
N
L1
UNIDAD INTERIOR
CONECTOR MANIOBRA
5 HILOS, SUMINISTRADO
CONECTOR MANIOBRA
3 HILOS, SUMINISTRADO
UNIDAD EXTERIOR
3 HILOS
230V/1Ph/50Hz
ALIMENTACION ELECTRICA
230V/1Ph/50Hz
NL
DBK 100 AG
DBK 120 AG
DBO 100 AG
DBO 120 AG
N
L1
L3
L2
UNIDAD INTERIOR
CONECTOR MANIOBRA
3 HILOS, SUMINISTRADO
CONECTOR MANIOBRA
4 HILOS, SUMINISTRADO
UNIDAD EXTERIOR
5 HILOS
400V/3Ph/50Hz
ALIMENTACION ELECTRICA 3 HILOS
(L,N, ) 230V/1Ph/50Hz (SUMINISTRADO)
DFK 75 AG DFO 75 AG
UNIDAD INTERIOR
CONECTOR MANIOBRA
4 HILOS, SUMINISTRADO
CONECTOR MANIOBRA
2 HILOS, SUMINISTRADO
UNIDAD EXTERIOR
N
L1
3 HILOS
230V/1Ph/50Hz
ALIMENTACION ELECTRICA 3 HILOS
(L,N, ) 230V/1Ph/50Hz (SUMINISTRADO)
DFK 100 AG
DFK 120 AG
DFO 100 AG
DFO 120 AG
N
L1
L3
L2
UNIDAD INTERIOR
CONECTOR MANIOBRA
4 HILOS, SUMINISTRADO
CONECTOR MANIOBRA
5 HILOS, SUMINISTRADO
UNIDAD EXTERIOR
5 HILOS
400V/3Ph/50Hz
bar que funcionan los tres modos for-
zados:
FRIO, CALOR, DESHUMIDIFICACIÓN.
3. Método de emergencia.
Cuando no se pueda utilizar el mando a
distancia, opere de la siguiente forma:
* Con la máquina parada pulse AUTO
para activarla. El equipo funcionará en
el modo que corresponda.
* Con la máquina en marcha pulse
AUTO para apagarla.
Nota: El modo TEST es solamente para
realizar pruebas. No utilizar como modo de
funcionamiento normal.
Conexiónes eléctricas

Related product manuals