EasyManua.ls Logo

Roca DFK-75 AG - Page 53

Roca DFK-75 AG
Print Icon
To Next Page IconTo Next Page
To Next Page IconTo Next Page
To Previous Page IconTo Previous Page
To Previous Page IconTo Previous Page
Loading...
53
D
Fig. 19
Testroutine und Überprü-
fung nach Abschluss der
Installation
Durchführung des Tests (Fig. 19)
1. Vor dem Test:
(1)Anlage erst nach Abschluss der In-
stallation an das Netz anschließen.
(2)Der elektrische Anschluss muss kor-
rekt und sicher ausgeführt werden.
(3)Die Ventile müssen geöffnet sein.
(4)Die Anlage muss frei von Verunreini-
gungen sein.
2. Durchführung des Tests:
(1)Anlage an das Netz anschließen und
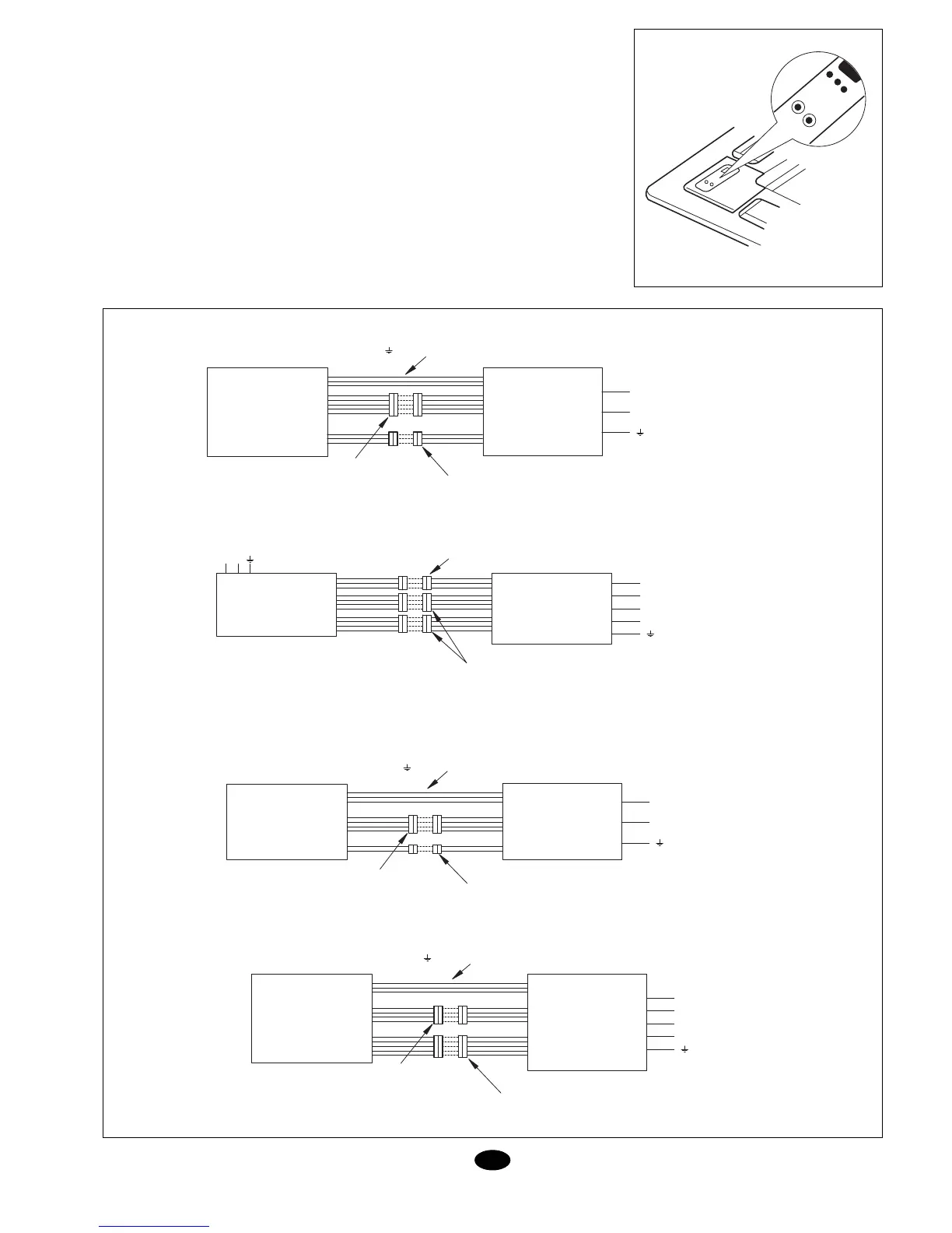
Elektrische Anschlüsse
Wärmepumpen
Ausführungen
ELEKTRISCHER ANSCHLUSS (3 LEITER)
(L,N, ) 230V/1Ph/50Hz (LIEGT BEIT)
DBK 75 AG DBO 75 AG
N
L1
INNENGERÄT
STEUERUNGSSTECKER
LIEGT BEIT (5 LEITER)
STEUERUNGSSTECKER
LIEGT BEIT (3 LEITER)
AUßENGERÄT
3 LEITER
230V/1Ph/50Hz
ELEKTRISCHER
ANSCHLUSS
230V/1Ph/50Hz
NL
N
L1
L3
L2
INNENGERÄT
STEUERUNGSSTECKER
LIEGT BEIT (3 LEITER)
STEUERUNGSSTECKER
LIEGT BEIT (4 LEITER)
AUßENGERÄT
5 LEITER
400V/3Ph/50Hz
DBK 100 AG
DBK 120 AG
DBO 100 AG
DBO 120 AG
ELEKTRISCHER ANSCHLUSS (3 LEITER)
(L,N, ) 230V/1Ph/50Hz (LIEGT BEIT)
DFK 75 AG DFO 75 AG
INNENGERÄT
STEUERUNGSSTECKER
LIEGT BEIT (4 LEITER)
STEUERUNGSSTECKER
LIEGT BEIT (2 LEITER)
AUßENGERÄT
N
L1
3 LEITER
230V/1Ph/50Hz
ELEKTRISCHER ANSCHLUSS (3 LEITER)
(L,N, ) 230V/1Ph/50Hz (LIEGT BEIT)
N
L1
L3
L2
INNENGERÄT
STEUERUNGSSTECKER
LIEGT BEIT (4 LEITER)
STEUERUNGSSTECKER
LIEGT BEIT (5 LEITER)
AUßENGERÄT
5 LEITER
400V/3Ph/50Hz
DBK 100 AG
DBK 120 AG
DBO 100 AG
DBO 120 AG
mit der Taste ON/OFF der Fernbedie-
nung in Betrieb nehmen.
(2)Zur Überprüfung der drei Betriebs-
funktionen KÜHLEN, HEIZEN, ENT-
FEUCHTEN die Taste MODE drücken.
3. Notbetrieb.
Sollte eine Steuerung der Anlage über
die Fernbedienung nicht möglich sein,
ist wie folgt vorzugehen:
* Bei stillstehender Anlage die Taste
AUTO betätigen. Nun arbeitet das
Gerät in der jeweiligen Betriebsweise.
* Bei laufender Anlage die Taste AUTO
betätigen. Nun stellt das Gerät den
Betrieb ein.
Anm.: Die Betriebsweise TEST ausschließ-
lich für Testzwecke, niemals für einen nor-
malen Betrieb verwenden.

Related product manuals