EasyManua.ls Logo

Rockwell Automation 2198-C1007-ERS

Rockwell Automation 2198-C1007-ERS
246 pages
To Next Page IconTo Next Page
To Next Page IconTo Next Page
To Previous Page IconTo Previous Page
To Previous Page IconTo Previous Page
Loading...
Rockwell Automation Publication 2198-UM005C-EN-P - February 2022 45
Chapter 3 Mount the Kinetix 5300 Drive System
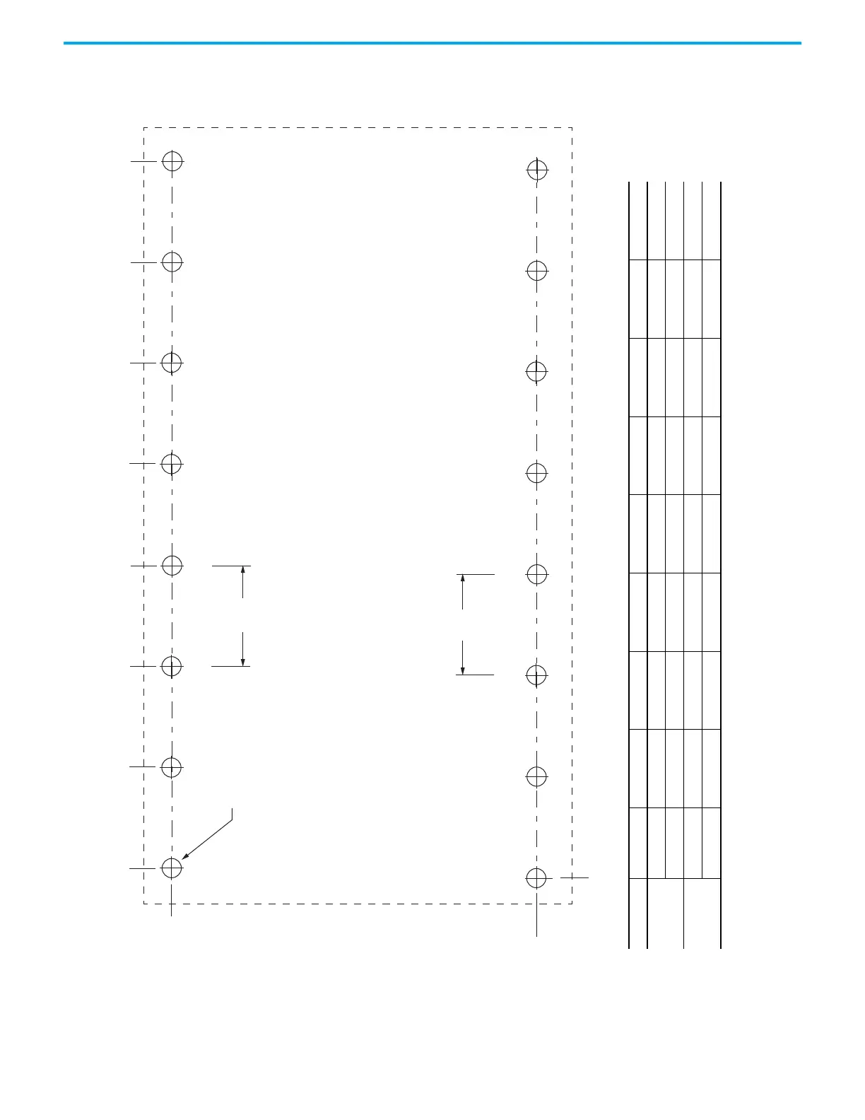
These hole patterns apply when all drives in the system are frame 1 or frame 2.
There are 50 mm between mounting holes (A-to-A and B-to-B).
Figure 21 - Frame 1 and Frame 2 Hole Patterns
16x
ØM4 (#8-32)
Axis 1
Axis 3
Frame 1
193.68
Frame 2
243.84
Axis 4
Axis 5
Axis 6
Axis 7
Axis 8
Axis 2
A
B
A
B
A
B
A
B
A
B
A
B
A
B
A
B
0
0
50.0
50.0
Frame Size Dimension Axis 1 Axis 2 Axis 3 Axis 4 Axis 5 Axis 6 Axis 7 Axis 8
1
A 4.51 54.51 104.51 154.51 204.51 254.51 304.51 354.51
B 0 50.0 100.0 150.0 200.0 250.0 300.0 350.0
2
A 5.00 60.0 115.0 170.0 225.0 280.0 335.0 390.0
B 0 55.0 110.0 165.0 220.0 275.0 330.0 385.0
Hole spacing is measured in millimeters and not
converted to inches to avoid errors due to rounding.

Table of Contents

Other manuals for Rockwell Automation 2198-C1007-ERS

Related product manuals