EasyManua.ls Logo

SAM Electronics AIS 3410 - AIS 3410 in Radar 9 xxx Systems

Default Icon
84 pages
Print Icon
To Next Page IconTo Next Page
To Next Page IconTo Next Page
To Previous Page IconTo Previous Page
To Previous Page IconTo Previous Page
Loading...
AIS 3410, Electronics Unit
ED3047G842 / 01 (2009-08)
Technical Manual
2 Overview
2.7 AIS 3410 in Radar 9xxx Systems
t_ue_e02.fm / 27.08.09
17
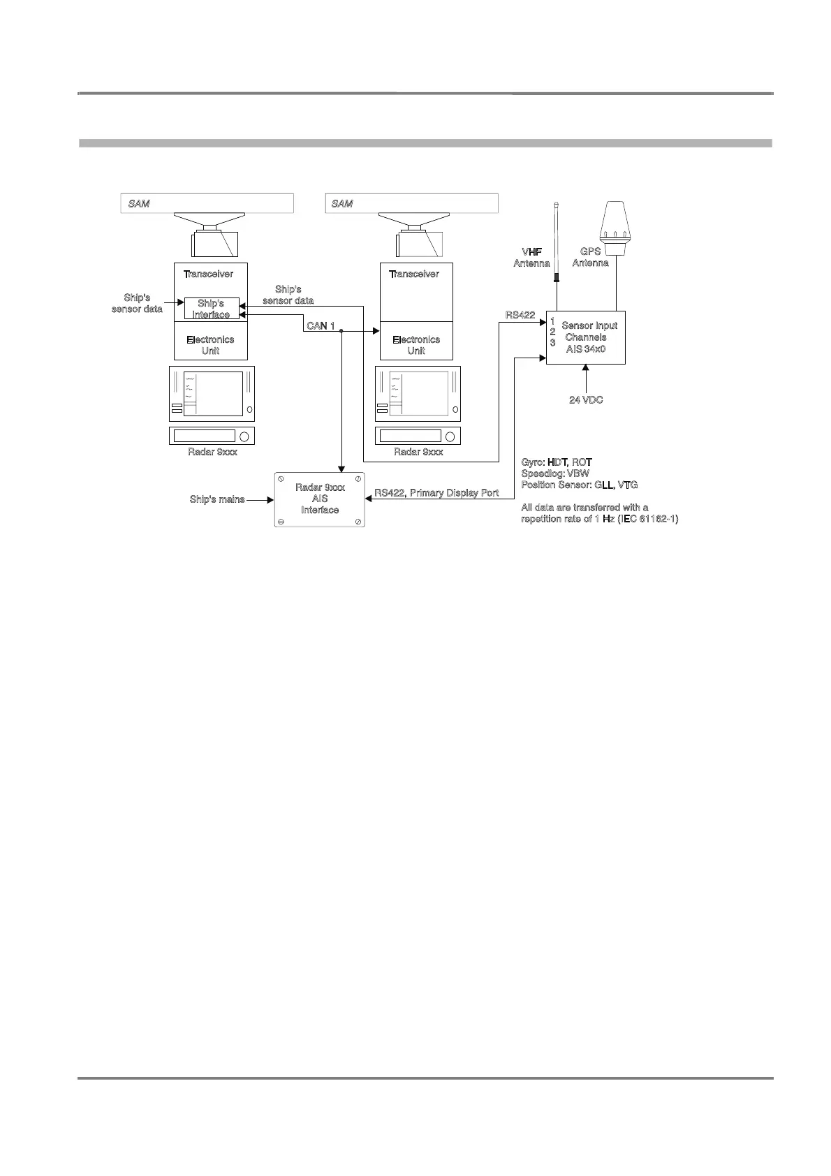
2.7 AIS 3410 in Radar 9xxx Systems
Fig. 2-6 AIS 3410 in Radar 9xxx systems
The AIS 3410 is connected to the Ship’s Interface by means of the additional Radar 9xxx AIS Interface.
For further information see the Technical Manual of the Radar 9xxx AIS Interface. The cabling diagrams
are shown in
Section 9.
The ship’s sensors are connected to the Ship’s Interface. The sensor data are transferred to the AIS and
to the radars. If an additional CHARTPILOT is connected, the AIS 3410 is connected to the CHART
-
PILOT via Ethernet LAN.
NOTE:
If the AIS Electronics Unit receives the ship’s sensor data from Ship’s Interface, the output interfaces of
the Ship’s Interface must be configured as follows:
- Select "IEC 61162-1 edition 3, 04/2007 (NMEA0183 version 3.01)" as driver
- Set a repetition interval of 1 s for the following telegrams:
-GLL
-VTG
-HDT
-ROT
- VBW (if bottom-track log is available)
z_ue_044odcu.pdf
VHF
Antenna
Radar 9xxx Radar 9xxx
AIS
34x0
GPS
Antenna
SAM SAM
Ship's
sensor data
Ship's
sensor data
CAN 1
RS422
Electronics
Unit
Electronics
Unit
Transceiver
Transceiver
Ship's
Interface
Gyro: HDT, ROT
Speedlog: VBW
Position Sensor: GLL, VTG
All data are transferred with a
repetition rate of 1 Hz (IEC 61162-1)
Sensor Input
Channels
1
2
3
24 VDC
RS422, Primary Display Port
Radar 9xxx
AIS
Interface
Ship's mains
*
*

Table of Contents