EasyManua.ls Logo

Schiller AT-2 - Exploded View Base Assembly and Printer

Schiller AT-2
109 pages
Print Icon
To Next Page IconTo Next Page
To Next Page IconTo Next Page
To Previous Page IconTo Previous Page
To Previous Page IconTo Previous Page
Loading...
Page 4.6
SCHILLER AT-2 6-Channel ECG Unit
SERVICE HANDBOOK Issue 2.1 November 1998
Chapter 4
Module Removal and Replacement
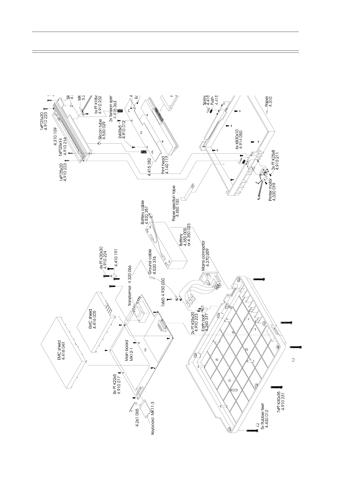
Exploded View Base Assembly and Printer

Other manuals for Schiller AT-2

Related product manuals