EasyManua.ls Logo

Schiller AT-2 - Main Board MK 12-1 Adjustment Locations

Schiller AT-2
109 pages
Print Icon
To Next Page IconTo Next Page
To Next Page IconTo Next Page
To Previous Page IconTo Previous Page
To Previous Page IconTo Previous Page
Loading...
Page 5.5
Chapter 5
Adjustments
SCHILLER AT-2 6-Channel ECG Unit
SERVICE HANDBOOK Issue 2.1 November 1998
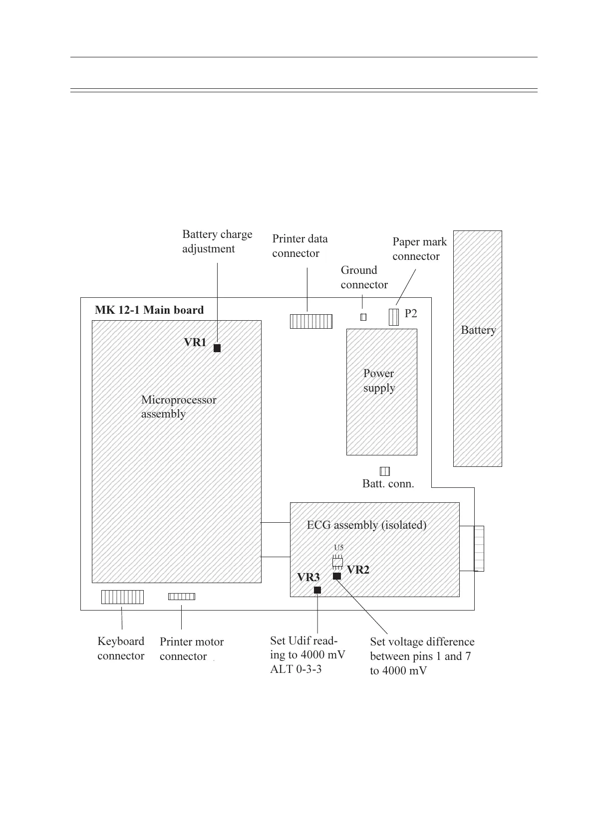
Main Board MK 12-1 Adjustment Locations
Patient
connector
123456789012345678901234567890121
1
2345678901234567890123456789012
1
1
2345678901234567890123456789012
1
1
2345678901234567890123456789012
1
1
2345678901234567890123456789012
1
1
2345678901234567890123456789012
1
1
2345678901234567890123456789012
1
1
2345678901234567890123456789012
1
1
2345678901234567890123456789012
1
1
2345678901234567890123456789012
1
1
2345678901234567890123456789012
1
1
2345678901234567890123456789012
1
1
2345678901234567890123456789012
1
1
2345678901234567890123456789012
1
1
2345678901234567890123456789012
1
1
2345678901234567890123456789012
1
1
2345678901234567890123456789012
1
1
2345678901234567890123456789012
1
1
2345678901234567890123456789012
1
1
2345678901234567890123456789012
1
1
2345678901234567890123456789012
1
1
2345678901234567890123456789012
1
1
2345678901234567890123456789012
1
1
2345678901234567890123456789012
1
1
2345678901234567890123456789012
1
1
2345678901234567890123456789012
1
1
2345678901234567890123456789012
1
1
2345678901234567890123456789012
1
1
2345678901234567890123456789012
1
1
2345678901234567890123456789012
1
1
2345678901234567890123456789012
1
1
2345678901234567890123456789012
1
1
2345678901234567890123456789012
1
1
2345678901234567890123456789012
1
1
2345678901234567890123456789012
1
1
2345678901234567890123456789012
1
1
2345678901234567890123456789012
1
1
2345678901234567890123456789012
1
1
2345678901234567890123456789012
1
1
2345678901234567890123456789012
1
1
2345678901234567890123456789012
1
1
2345678901234567890123456789012
1
1
2345678901234567890123456789012
1
1
2345678901234567890123456789012
1
1
2345678901234567890123456789012
1
1
2345678901234567890123456789012
1
1
2345678901234567890123456789012
1
1
2345678901234567890123456789012
1
1
2345678901234567890123456789012
1
1
2345678901234567890123456789012
1
123456789012345678901234567890121
2345678901234
2345678901234
2345678901234
2345678901234
2345678901234
2345678901234
2345678901234
2345678901234
2345678901234
2345678901234
2345678901234
2345678901234
2345678901234
2345678901234
2345678901234
2345678901234
2345678901234
2345678901234
2345678901234
2345678901234
2345678901234
2345678901234
2345678901234
123456789012
1
2345678901
2
1
2345678901
2
1
2345678901
2
123456789012
123456789012
1
2345678901
2
1
2345678901
2
1
2345678901
2
123456789012
12345678
1
234567
8
12345678
123
1
23
1
23
1
23
123
12
12
12
123
1
2
3
1
2
3
1
2
3
1
2
3
123
1234567890
1
23456789
0
1
23456789
0
1
23456789
0
1
23456789
0
1
23456789
0
1
23456789
0
1
23456789
0
1
23456789
0
1
23456789
0
1
23456789
0
1
23456789
0
1
23456789
0
1
23456789
0
1
23456789
0
1
23456789
0
1
23456789
0
1
23456789
0
1
23456789
0
1
23456789
0
1
23456789
0
1
23456789
0
1
23456789
0
1
23456789
0
1
23456789
0
1
23456789
0
1
23456789
0
1
23456789
0
1
23456789
0
1
23456789
0
1
23456789
0
1
23456789
0
1
23456789
0
1
23456789
0
1
23456789
0
1
23456789
0
1
23456789
0
1
23456789
0
1
23456789
0
1
23456789
0
1
23456789
0
1
23456789
0
1
23456789
0
1
23456789
0
1
23456789
0
1234567890
Paper mark
connector
Ground
connector
Printer data
connector
MK 12-1 Main board
Power
supply
Battery
Microprocessor
assembly
Keyboard
connector
Printer motor
connector
VR1
123456789012345678901234567890121
1
2345678901234567890123456789012
1
1
2345678901234567890123456789012
1
1
2345678901234567890123456789012
1
1
2345678901234567890123456789012
1
1
2345678901234567890123456789012
1
1
2345678901234567890123456789012
1
1
2345678901234567890123456789012
1
1
2345678901234567890123456789012
1
1
2345678901234567890123456789012
1
1
2345678901234567890123456789012
1
1
2345678901234567890123456789012
1
1
2345678901234567890123456789012
1
1
2345678901234567890123456789012
1
1
2345678901234567890123456789012
1
1
2345678901234567890123456789012
1
1
2345678901234567890123456789012
1
1
2345678901234567890123456789012
1
123456789012345678901234567890121
ECG assembly (isolated)
VR2
VR3
12
12
12
U5
123
1
2
3
123
Batt. conn.
P2
Battery charge
adjustment
Set Udif read-
ing to 4000 mV
ALT 0-3-3
Set voltage difference
between pins 1 and 7
to 4000 mV

Other manuals for Schiller AT-2

Related product manuals