EasyManua.ls Logo

Seca 634 - Inserimento Dellalloggiamento del Display Nel Supporto Per Parete; Montaggio del Supporto Per; Parete

Seca 634
Print Icon
To Next Page IconTo Next Page
To Next Page IconTo Next Page
To Previous Page IconTo Previous Page
To Previous Page IconTo Previous Page
Loading...
Prima di cominciare veramente… • 173
Italiano
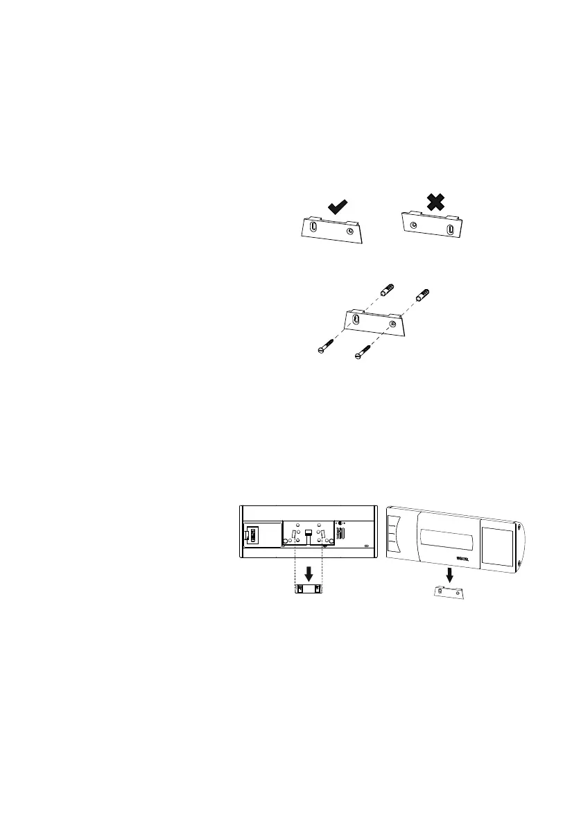
Montaggio del supporto
per parete
Scegliere come punto di montaggio una parete con
portata sufficiente. Per il montaggio su muratura mas-
siccia, utilizzare i tasselli standard in dotazione. Per
pareti con altre caratteristiche utilizzare i tasselli speciali
corrispondenti.
INDICAZIONE:
calcolare l'altezza di montaggio considerando la
lunghezza del cavo di collegamento.
1. Contrassegnare i fori all'altezza desiderata
orizzontalmente gli uni rispetto agli altri.
2. Forare con una punta di Ø 5mm.
3. Inserire i tasselli nei fori.
4. Avvitare saldamente il supporto per parete alla
parete rispettando il corretto orientamento.
Inserimento
dell'alloggiamento del
display nel supporto per
parete
Posizionare l'alloggiamento del display sul supporto
per parete, come illustrato nel disegno sopra.

Table of Contents

Other manuals for Seca 634

Related product manuals