EasyManua.ls Logo

Seca 634 - Assembly Procedures

Seca 634
Print Icon
To Next Page IconTo Next Page
To Next Page IconTo Next Page
To Previous Page IconTo Previous Page
To Previous Page IconTo Previous Page
Loading...
Bevor es richtig los geht… • 23
Deutsch
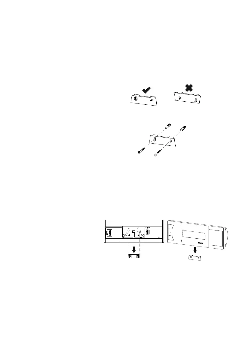
Wandhalter montieren Wählen Sie eine ausreichend tragfähige Wand als
Montagestelle. Für die Montage an massivem Mauer-
werk sind Standarddübel im Lieferumfang enthalten.
Für andere Wandbeschaffenheiten empfehlen wir, ent-
sprechende Spezialdübel zu verwenden.
HINWEIS:
Beachten Sie bei der Wahl der Montagehöhe
die Länge des Verbindungskabels.
1. Zeichnen Sie die Bohrlöcher waagerecht zuei-
nander in der gewünschten Höhe an.
2. Bohren Sie die Löcher mit einem Bohrer Ø 5 mm.
3. Stecken Sie die Dübel in die Bohrlöcher.
4. Schrauben Sie den Wandhalter in der gezeigten
Ausrichtung an der Wand fest.
Anzeigegehäuse auf
Wandhalter setzen
Setzen Sie das Anzeigegehäuse auf den Wand-
halter, wie in obiger Zeichnung dargestellt.

Table of Contents

Other manuals for Seca 634

Related product manuals