EasyManua.ls Logo

Seca 634 - Montaż Uchwytów Ściennych; Zakładanie Wyświetlacza Na Uchwyt Ścienny

Seca 634
Print Icon
To Next Page IconTo Next Page
To Next Page IconTo Next Page
To Previous Page IconTo Previous Page
To Previous Page IconTo Previous Page
Loading...
328 •
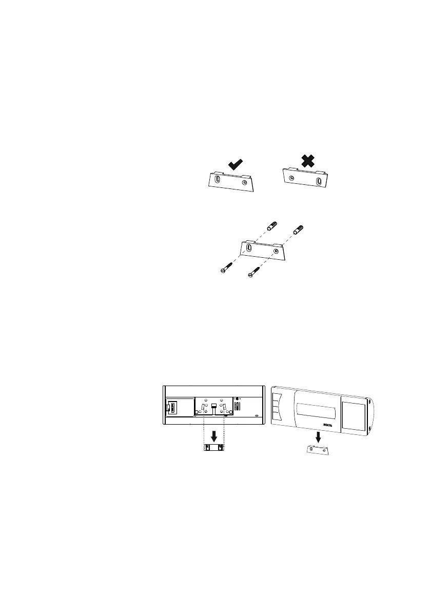
Montaż uchwytów
ściennych
Na miejsce montażu należy wybrać wystarczająco
wytrzymałą ścianę. W zakres dostawy wchodzą stan-
dardowe kołki służące do montażu urządzenia na
masywnej ścianie murowanej. Do montażu na ścianach
innego typu zaleca się użycie odpowiednich kołków
specjalnych.
WSKAZÓWKA:
Przy określaniu wysokości montażu należy
uwzględnić długość kabla.
1. Zaznaczyć otwory pod śruby - w linii poziomej - na
żądanej wysokości.
2. Wywiercić otwory wiertłem o średnicy 5mm.
3. Włożyć kołki w wywiercone otwory.
4. Przykręcić uchwyt ścienny w pokazanej pozycji do
ściany.
Zakładanie
wyświetlacza na
uchwyt ścienny
Założyć wyświetlacz na uchwyt ścienny w sposób
pokazany na powyższym rysunku.
Widok od tyłu
(schemat ideowy)

Table of Contents

Other manuals for Seca 634

Related product manuals