EasyManua.ls Logo

Sega WaveRunner - Page 156

Sega WaveRunner
182 pages
Print Icon
To Next Page IconTo Next Page
To Next Page IconTo Next Page
To Previous Page IconTo Previous Page
To Previous Page IconTo Previous Page
Loading...
www.seuservice.com
147
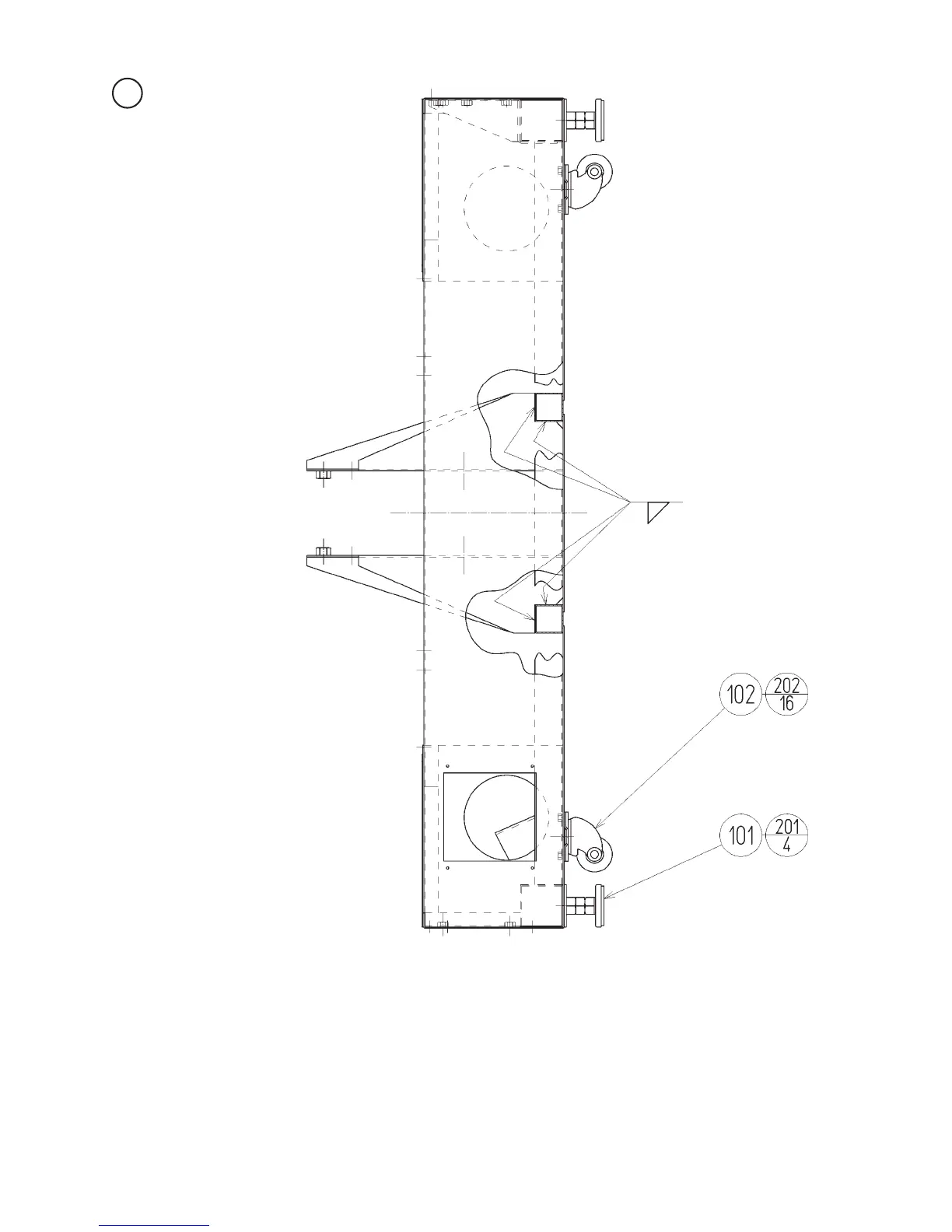
19 MECHA BASE (WRG-3101)
ITEM NO. PART NO. DESCRIPTION NOTE
101 601-5882 LEG ADJUSTER ø 60
102 601-6056-01 CASTER ø 50
201 050-H01600-3 HEX NUT TYPE 3 M16
202 030-000620-S HEX BLT W/S M6 X 20

Table of Contents

Related product manuals