EasyManua.ls Logo

Sega WaveRunner - Greasing and Retightening the Bolts

Sega WaveRunner
182 pages
Print Icon
To Next Page IconTo Next Page
To Next Page IconTo Next Page
To Previous Page IconTo Previous Page
To Previous Page IconTo Previous Page
Loading...
www.seuservice.com
69
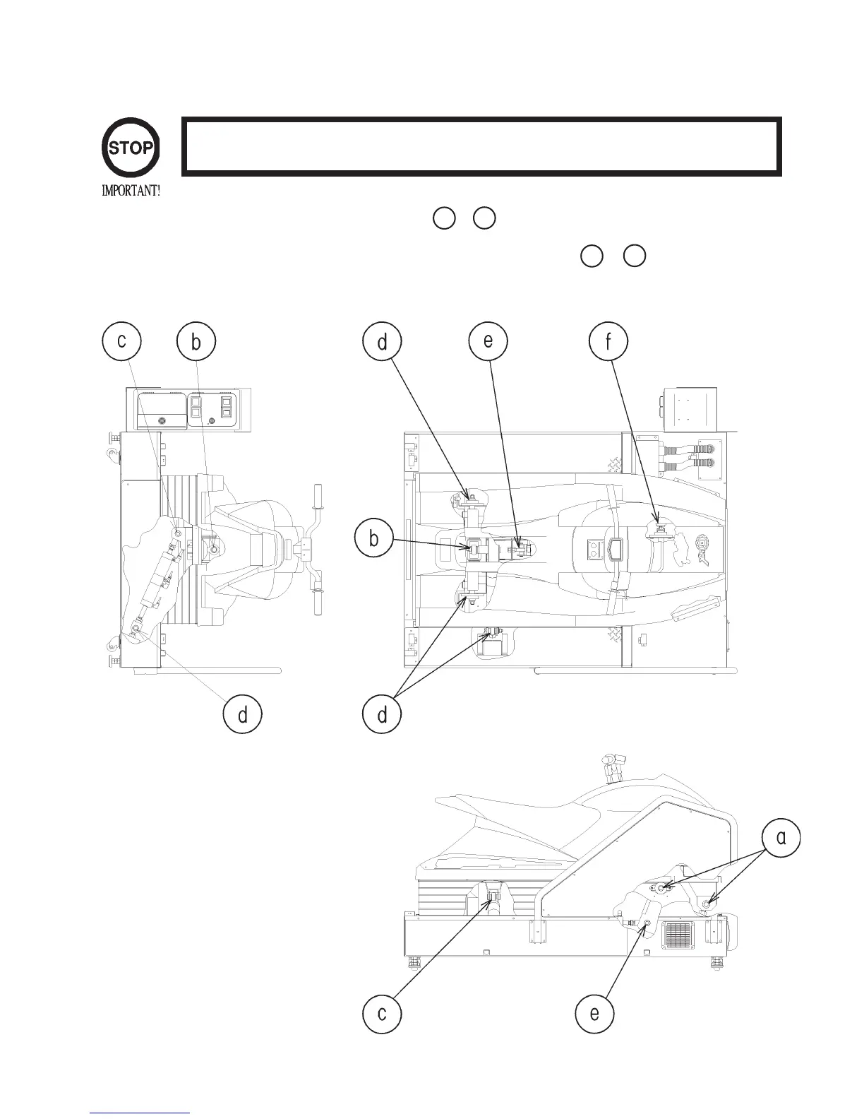
11 - 2 GREASING AND RETIGHTENING THE BOLTS
Be sure to use the designated grease. Using undesignated grease can cause parts
damage.
Once every 6 months, apply greasing to ~ mobile parts. Use Spray Grease
(Part No. 090 - 0025). Apply Spray Greasing to the Rod End and Bearing from the Grease
Nipple. At the same time, check to see if the nuts which secure ~ each bearing and
Rod End are loosened. If loosened, retighten the nuts.
FIG. 11. 2
a
f
a
f

Table of Contents

Related product manuals