EasyManua.ls Logo

Sharp ER-A220 - Preparation and Basic Settings

Sharp ER-A220
65 pages
Print Icon
To Next Page IconTo Next Page
To Next Page IconTo Next Page
To Previous Page IconTo Previous Page
To Previous Page IconTo Previous Page
Loading...
8
PROGRAMMING
This chapter illustrates how to program your cash register. Program every item necessary for your store by
following the appropriate procedure.
• You can select the language of texts printed on receipts or journals from English, German, French
or Spanish. For the language selection, please refer to "Language Selection" described later in
this section.
Preparations for Programming
1. Plug your machine into a standard wall outlet.
2. Put the manager key in the mode switch and turn it to the PGM position.
3. Check to see whether paper roll is present in the machine. If it is missing, install a paper roll correctly
referring to the procedure in “4. Installing and removing the paper roll” under “OPERATOR MAINTENANCE”.
4. Program necessary items into your machine.
• On the key operation example shown in the programming details, numeric such as 26082000
indicates the parameter which must be entered using the corresponding numeric keys.
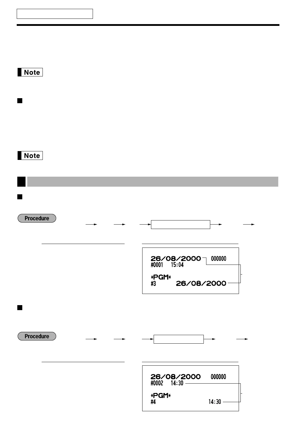
Setting the date
Enter day (one or two digits), month (two digits), and year (four digits : 1999 to 2098) in this sequence.
Setting the time
Set the time using the 24-hour format. For example, when the time is set to 2:30 AM, enter 230; and when it is
set to 2:30 PM, enter 1430.
Time
Ñ
4
1430
ÑÉ
PrintKey operation example
4Ñ
Ñ É
Time (max. four digits)
Date
Ñ
3
26082000
ÑÉ
PrintKey operation example
3Ñ
Ñ É
Date (seven or eight digits)
Setting the date and time
1
FOR THE MANAGER
Downloaded from: http://www.usersmanualguide.com/

Table of Contents

Other manuals for Sharp ER-A220

Related product manuals