EasyManua.ls Logo

Shuttle AK32E - Page 25

Shuttle AK32E
81 pages
Print Icon
To Next Page IconTo Next Page
To Next Page IconTo Next Page
To Previous Page IconTo Previous Page
To Previous Page IconTo Previous Page
Loading...
- 21 -
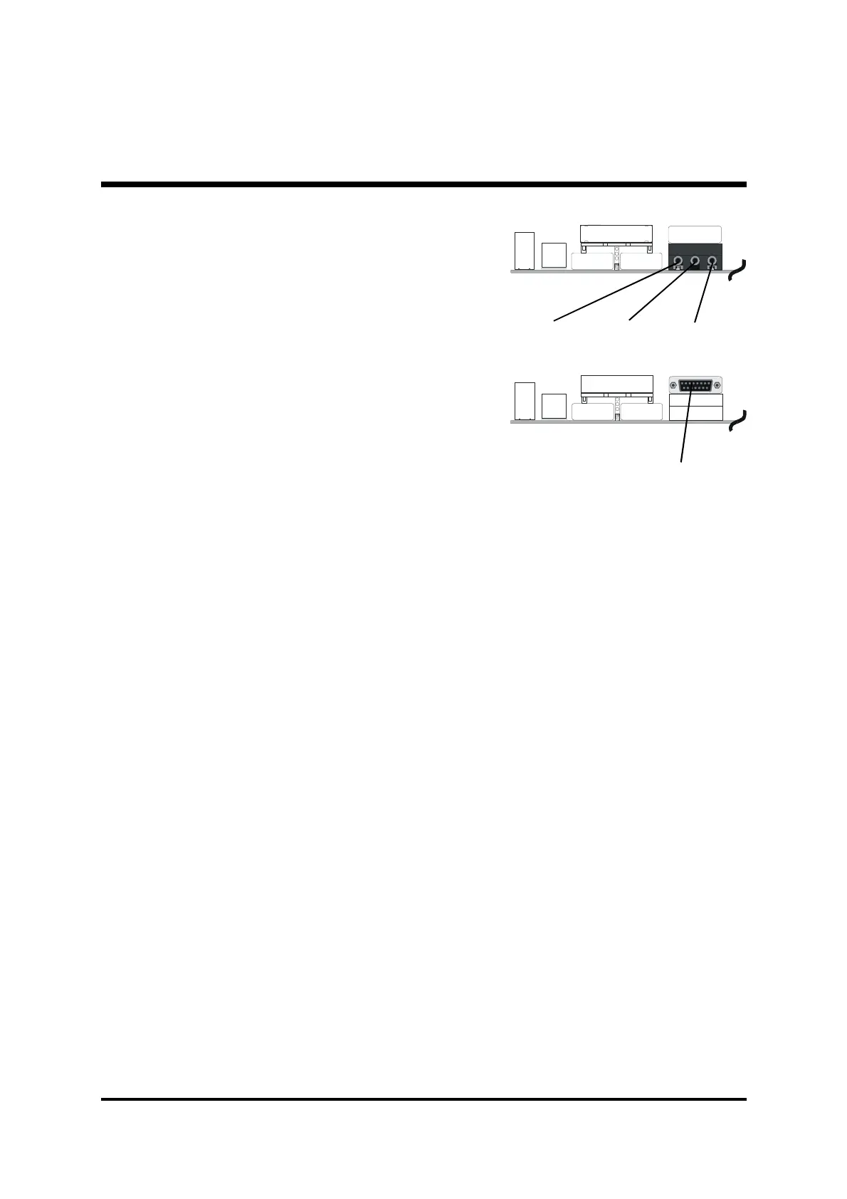
Line-Out
Mic_in
Line-In
MIDI/GAME Port
5. Audio Line_out / Line_in / Mic_in Purts
6. MIDI/Game Port

Table of Contents

Related product manuals