EasyManua.ls Logo

Sicam SBM 95 - Instructions for Use; Electronic Panel

Sicam SBM 95
21 pages
Print Icon
To Next Page IconTo Next Page
To Next Page IconTo Next Page
To Previous Page IconTo Previous Page
To Previous Page IconTo Previous Page
Loading...
COD.642400 Rev. 1
11
INSTRUCTIONS FOR USE
ELECTRONIC PANEL
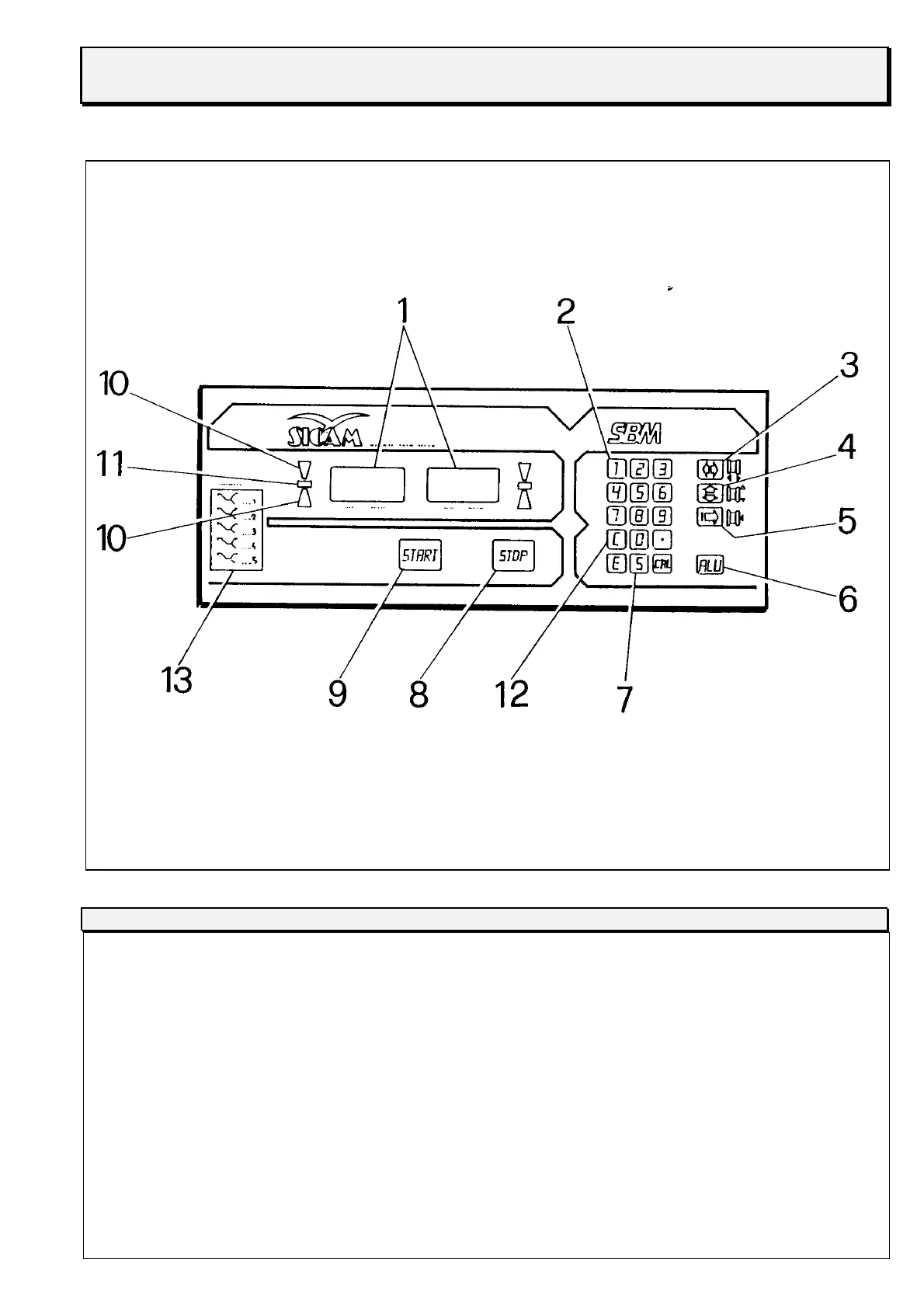
fig.16
KEY
1. Data displays
2. Programming keyboard
3. Rim width regulator key
4. Rim diameter regulator key
5. Rim compensation distance regulator key
6. Aluminium programme selector key
7. Static programme selector key
8. STOP key
9. START key
10. LED imbalance direction indicators
11. Point of imbalance (LED)
12. C Key - conduct coded functions
13. Type of function ALU

Related product manuals