EasyManua.ls Logo

Siemens H-compact PLUS - Arrangement of the Plates on the Motor; Figure 3-2 Example: Arrangement of the Plates on the Horizontal Construction Type

Siemens H-compact PLUS
83 pages
Print Icon
To Next Page IconTo Next Page
To Next Page IconTo Next Page
To Previous Page IconTo Previous Page
To Previous Page IconTo Previous Page
Loading...
Description
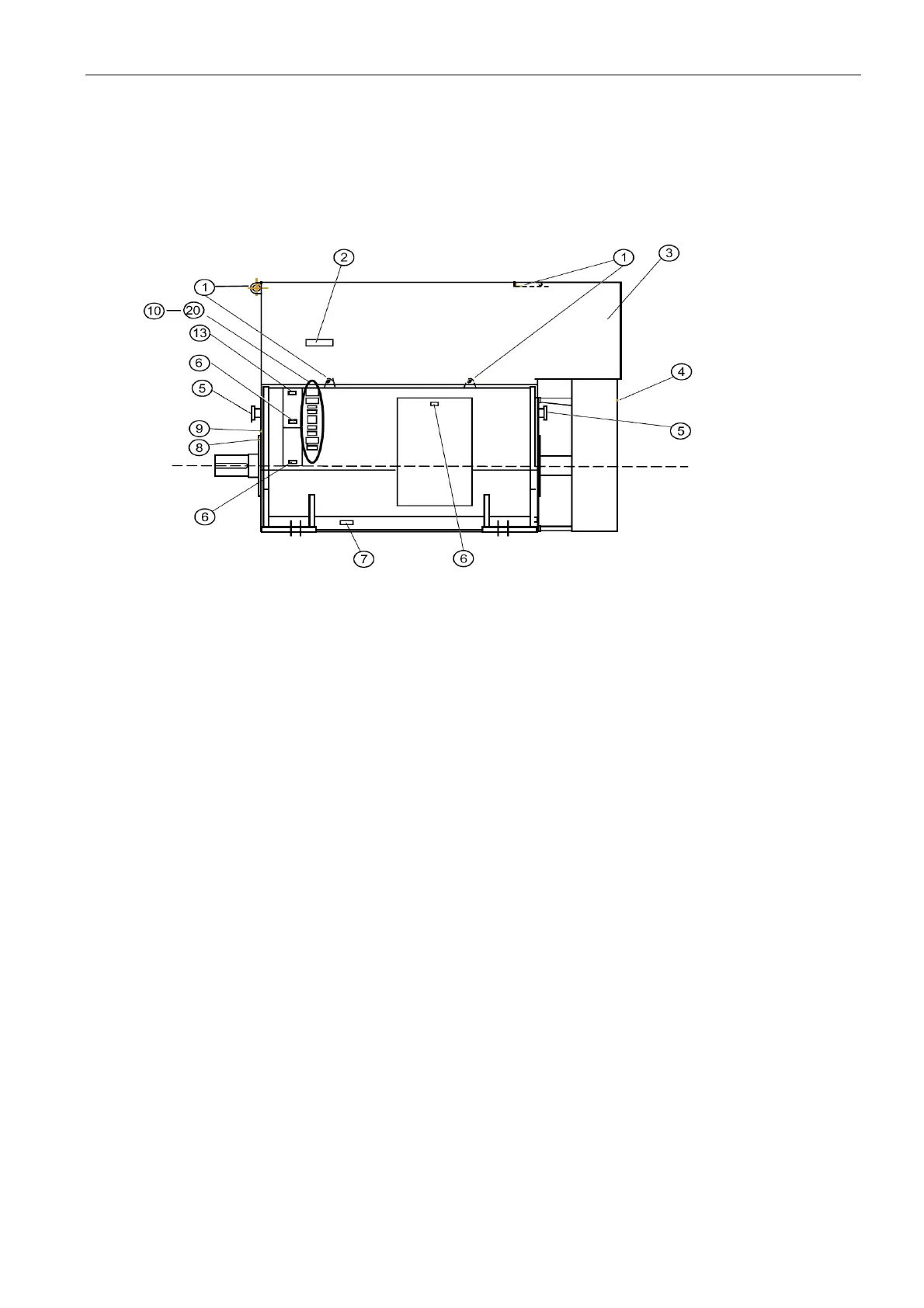
3.4 Arrangement of the plates on the motor
WOGeneric TEAAC / 2008
Siemens AG Operating Instructions 1.03 1RQ671...-Z 15
3.4 Arrangement of the plates on the motor
Horizontal construction type
Additional plate - transportation warning Rating plate
Company name plate Lubricant plate
Additional plate - purging air outlet Additional plate - bearing insulation drive end and
non-drive end
Additional plate: fan unit direction of rotation Rating plate - anti-condensation heating data
Additional plate - transport of construction type B3 Additional plate - running-up time
Additional plate - type of ignition protection Ex e
1)
Additional plate - asset number
Additional plate - purging air inlet Additional plate - blank
Additional plate - balancing type 1/1 and 1/2 Additional plate - purging air data
Additional plate - balancing type 1/2 Additional plate - type of ignition protection Ex i
2)
Additional plate - anti-condendation heating warning CE label
1
) only on terminal boxes in protection type Ex e, installed on motor in other protection types
2
) only on terminal boxes with intrinsically safe circuits
Figure 3-2 Example: Arrangement of the plates on the horizontal construction type
[ID 1155.01]

Table of Contents

Related product manuals