EasyManua.ls Logo

Siemens SIMATIC S7-1200

Siemens SIMATIC S7-1200
212 pages
To Next Page IconTo Next Page
To Next Page IconTo Next Page
To Previous Page IconTo Previous Page
To Previous Page IconTo Previous Page
Loading...
Fail-Safe signal module (SM) applications
3.1 Digital input applications
S7-1200 Functional Safety Manual
70 Manual, 02/2015, A5E03470344-AA
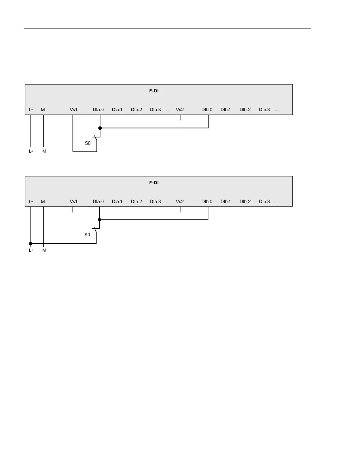
3.1.3
Applications 3 and 4: 1oo2 evaluation of a single sensor
You cannot configure short-circuit detection for this type of connection. Vs1 testing causes F-
DI b.x inputs to fail.
Figure 3-3 F-DI Application mode 3: Internal sensor supply
Figure 3-4 F-DI Application mode 4: External sensor supply

Table of Contents

Other manuals for Siemens SIMATIC S7-1200

Related product manuals