EasyManua.ls Logo

Siemens SITRANS LVS100 - Diagnose der Schwingungsamplitude; Einstellung Stromausgang

Siemens SITRANS LVS100
116 pages
To Next Page IconTo Next Page
To Next Page IconTo Next Page
To Previous Page IconTo Previous Page
To Previous Page IconTo Previous Page
Loading...
7ML19985FT63 SITRANS LVS100/200 – BETRIEBSANLEITUNG Seite DE-23
mmmmm
Deutsch
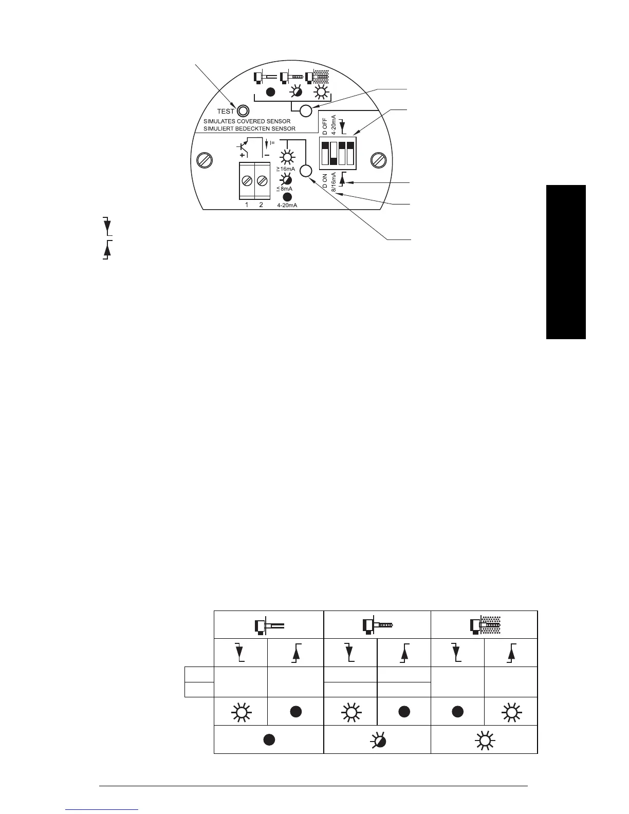
Diagnose der Schwingungsamplitude
NAMUR-Ausführung (IEC 60947-5-6) und Ausführung 8/16 mA oder 4 ... 20 mA
Die Messwertqualität ist abhängig von der Schwingungsamplitude der Sonde. Die
Diagnose-LED gibt die Qualität der Schwingung an, die an die LVS200 Elektronik
übertragen wird.
Diagnose-LED aus: Die Messwertqualität ist gut. Die Schwingungsamplitude ist
hoch.
Diagnose-LED blinkend: Die Messwertqualität ist schlecht und die Schwingungsam-
plitude nimmt mit zunehmendem Materialansatz an der Schwinggabel ab. Stellen
Sie die Empfindlichkeit in diesem Fall auf 'verminderte Empfindlichkeit'.
Diagnose-LED ein: Die Schwingung ist abgebrochen und die Schwinggabel vollstän-
dig mit Materialansatz behaftet.
Einstellung Stromausgang
8/16 mA
Die Tabelle unten zeigt den Ausgangsstrom in Abhängigkeit von der gegebenen Situa-
tion:
Schwinggabel ist sauber
Schwinggabel mit Materialansatz: schwache Schwingungsamplitude wird angezeigt
Schwinggabel ist vollständig mit Materialansatz behaftet und die Schwingung ist
abgebrochen.
Einstellung
Diagnose
D Off
I = 16 mA I = 8 mA
I = 16 mA I = 8 mA
I = 8 mA I = 16 mA
D On I = 20 mA I = 6 mA
LED Signal-
ausgang
LED
Diagnose
Ausführung 8/16 oder 4 ... 20 mA
Tes t-Taste
Diagnose-LED
Einstellung der
Empfindlichkeit:
B = Werkseinstellung
A = verminderte
Empfindlichkeit
B
A
Befüllung oder Entleerung
Ausgangseinstellung
LED Signalausgang
Sonde als Vollmelder eingesetzt
Fail-safe-Funktion liefert automatisch ein Vollsignal
Sonde als Leermelder eingesetzt
Fail-safe-Funktion liefert automatisch ein Leersignal

Table of Contents

Related product manuals