EasyManua.ls Logo

Siemens WF 723 C - Tool Offset Memory and Variants

Siemens WF 723 C
97 pages
To Next Page IconTo Next Page
To Next Page IconTo Next Page
To Previous Page IconTo Previous Page
To Previous Page IconTo Previous Page
Loading...
Tool Offsets 04.97
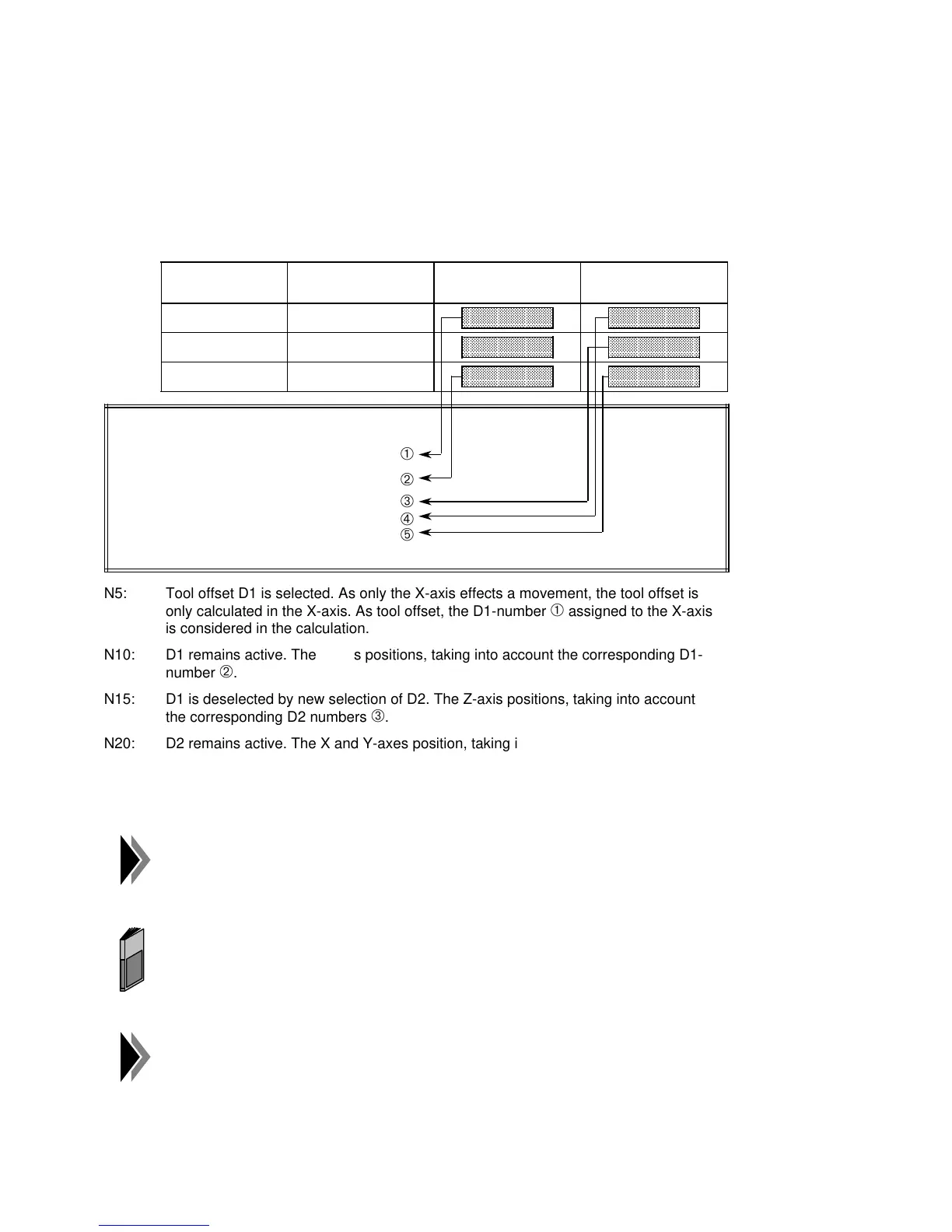
6.2 Tool offset memory
A total of 20 tool offset memories per axis are available. They are called with D1 to D20. The
tool offset memories are firmly assigned to the hardware axes A*, B* and C*. The definition of
the axis assignment (MD38) determines the assignment of the axis names (X, Y, Z, A, B, and
C). In the traversing program, the respective tool offset memory is addressed via the assigned
axis names.
Hardware axis Axis name (MD 38) Tool offset
D1
Tool offset
D2
A* X Value Value
B* Z Value Value
C* Y Value Value
Programming:
N5 G77 X100.000 FX2000.00 D1
N10 Y100.000 FY2000.00
N15 Z100.000 FZ2000.00 D2
N20 X200.000 Y200.000
N25 X300.000 Y300.000 Z300.000 D0
a
a
a
a
a
a
a
a
a
a
a
a
a
a
a
a
a
a
a
a
a
a
a
a
a
a
a
a
a
a
a
a
a
a
a
a
a
a
a
a
a
a
a
a
a
a
a
a
a
a
a
a
a
a
a
a
a
a
a
a
a
a
a
a
a
a
a
a
a
a
a
a
a
a
a
a
a
a
a
a
a
a
a
a
a
a
a
a
a
a
a
a
a
a
a
a
a
a
a
a
a
a
a
a
a
a
a
a
a
a
a
a
a
a
a
a
a
a
a
a
a
a
a
a
a
a
a
a
a
a
a
a
a
a
a
a
a
a
a
a
a
a
a
a
a
a
a
a
a
a
a
a
a
a
a
a
a
a
a
a
a
a
a
a
a
a
a
a
a
a
a
a
a
a
a
a
a
a
a
a
a
a
a
a
a
a
a
a
a
a
a
a
a
a
a
a
a
a
a
a
a
a
a
a
a
a
a
a
a
a
a
a
a
a
a
a
a
a
a
a
a
a
a
a
a
a
a
a
a
a
a
a
a
a
a
a
a
a
a
a
a
a
a
a
a
a
a
a
a
a
a
a
a
a
a
a
a
a
a
a
a
a
a
a
a
a
a
a
a
a
a
a
a
a
a
a
a
a
a
a
a
a
a
a
a
a
a
a
a
a
a
a
a
a
a
a
a
a
a
a
a
a
a
a
a
a
a
a
a
a
a
a
a
a
a
a
a
a
a
a
a
a
a
a
a
a
a
a
a
a
a
a
a
a
a
a
a
a
a
a
a
a
a
a
a
a
a
a
a
a
a
a
a
a
a
a
a
a
a
a
a
a
a
a
a
a
a
a
a
a
a
a
a
a
a
a
a
a
a
a
a
a
a
a
a
a
a
a
a
a
a
a
a
a
a
a
a
a
a
a
a
a
a
a
a
a
a
a
a
a
a
a
a
a
a
a
a
a
a
a
a
a
a
a
a
a
a
a
a
a
a
a
a
a
a
a
a
a
a
a
a
a
a
a
a
a
a
a
a
a
a
a
a
a
a
a
a
a
a
a
a
a
a
a
a
a
a
a
a
a
a
a
a
a
a
a
N5: Tool offset D1 is selected. As only the X-axis effects a movement, the tool offset is
only calculated in the X-axis. As tool offset, the D1-number
assigned to the X-axis
is considered in the calculation.
N10: D1 remains active. The Y-axis positions, taking into account the corresponding D1-
number
.
N15: D1 is deselected by new selection of D2. The Z-axis positions, taking into account
the corresponding D2 numbers
.
N20: D2 remains active. The X and Y-axes position, taking into account the corresponding
D2-numbers
➃ ➄
.
N25: The tool offset is deselected by means of D0 in the programmed axes X, Y and Z.
If a tool offset shall not be taken into account in all programmed axes, "0"
must be entered in the respective tool offset memories (basic position).
The input/output of tool offsets is described in the Planning Guide
"Command identifiers for SIMATIC S5 or S7" under AK14.
As in synchronism, the movement of the slave axis is always derived from
the master axis, the tool offset is taken into account in the calculation in
the master axis only.
6 – 2 ©
Siemens AG 1997 All Rights Reserved 6ZB5 440-0VU02
WF 723 C (Programming Guide)

Table of Contents

Related product manuals