EasyManua.ls Logo

Skyjack SJ9233 RT - Move the MEWP for Transport; Hoist the MEWP

Skyjack SJ9233 RT
120 pages
Print Icon
To Next Page IconTo Next Page
To Next Page IconTo Next Page
To Previous Page IconTo Previous Page
To Previous Page IconTo Previous Page
Loading...
74
221491AAA SJ9233 RT, SJ9243 RT, SJ9253 RT
Section 6 – Additional Procedures Move the MEWP for transport
6.6 Move the MEWP for
transport
When you drive a MEWP onto or remove it from a
transport vehicle, on a public road, give protection to
the person(s) involved. Protection can include:
Warning cones
Road signs and signaling devices
Applicable personal protective equipment, such
as reflective clothing
Flag personnel to warn other vehicles of the
MEWP and other related vehicles
Other applicable control measures.
Obey all the national, state/provincial/territorial, and
local safety rules when you move the MEWP for
transport. Only qualified personnel with authorization
must drive the MEWP on to or remove it from a
transport vehicle.
Be sure the vehicle capacity and load equipment,
hoists, chains, straps, and other related items are
sufficient to withstand the maximum MEWP weight.
Park the transport vehicle on a level surface. Use
wheel chocks or blocks to prevent unintended vehicle
movement during this operation.
6.6-1 Hoist the MEWP
WARNING
Only qualified riggers must operate the machinery
during a lift.
When you hoist the MEWP, you must:
Turn the main power disconnect switch to the
off position.
Close and tightly latch the engine compartment
door.
Retract the extension platform(s). Correctly
insert the lock-pin(s).
Attach the platform control console to the
mounting bracket, or remove the platform
control console
Remove all personnel, tools, and materials from
the platform.
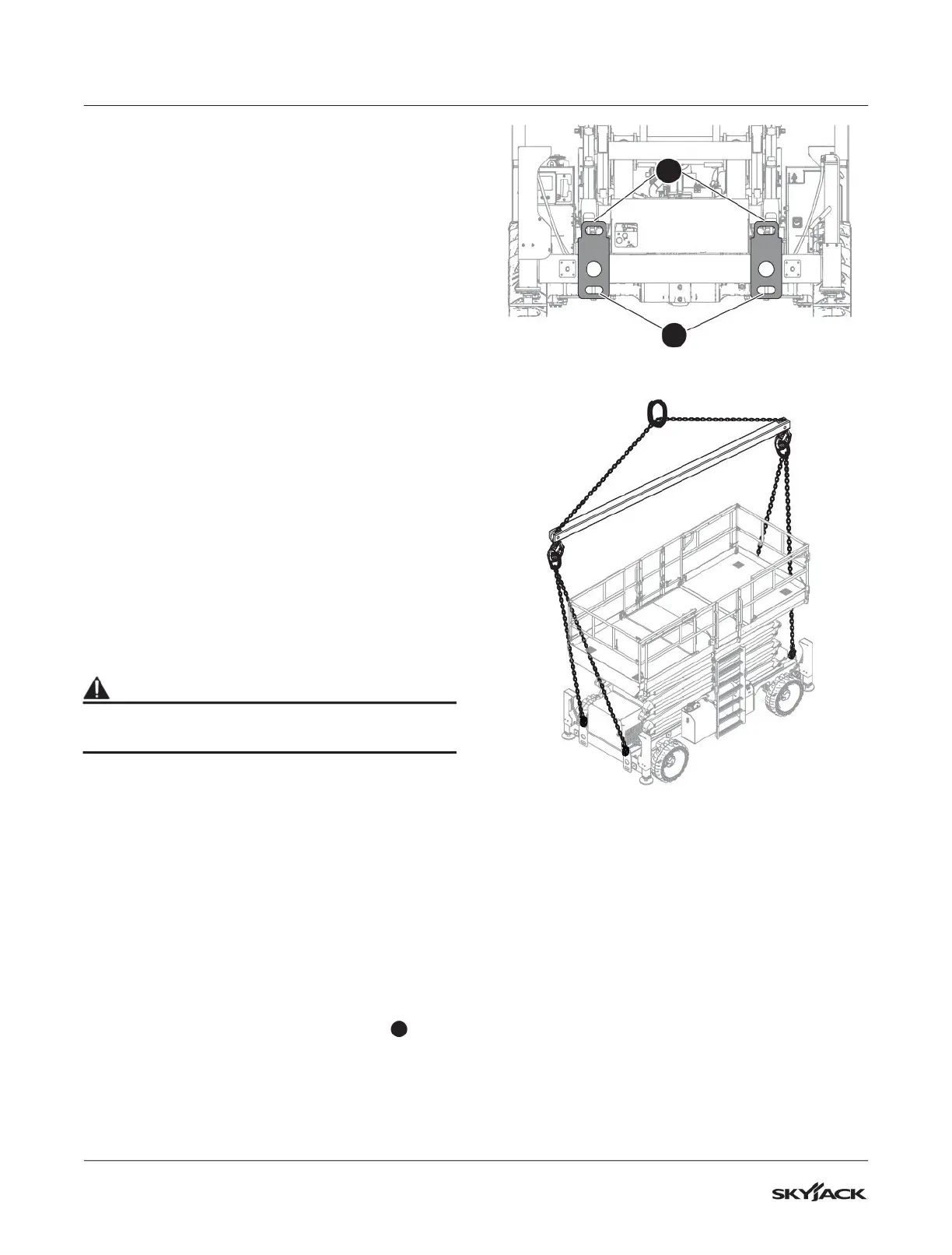
Attach the rigging to all four lift points
1
. Refer
to Figure 09 and Figure 10.
1
2
Figure 09 Lift and tie-down points
Figure 10 Appropriate method to hoist

Table of Contents

Other manuals for Skyjack SJ9233 RT

Related product manuals